Login required to View Regulations

Sign In or Register Now.  Registration is fast and free!

 
§1910.94 — Ventilation
 
(a)
Abrasive blasting.
 
(1)
Definitions applicable to this paragraph.
 
(i)
Abrasive. A solid substance used in an abrasive blasting operation.
 
(ii)
Abrasive-blasting respirator. A respirator constructed so that it covers the wearer's head, neck, and shoulders to protect the wearer from rebounding abrasive.
 
(iii)
Blast cleaning barrel. A complete enclosure which rotates on an axis, or which has an internal moving tread to tumble the parts, in order to expose various surfaces of the parts to the action of an automatic blast spray.
 
(iv)
Blast cleaning room. A complete enclosure in which blasting operations are performed and where the operator works inside of the room to operate the blasting nozzle and direct the flow of the abrasive material.
 
(v)
Blasting cabinet. An enclosure where the operator stands outside and operates the blasting nozzle through an opening or openings in the enclosure.
 
(vi)
Clean air. Air of such purity that it will not cause harm or discomfort to an individual if it is inhaled for extended periods of time.
 
(vii)
Dust collector. A device or combination of devices for separating dust from the air handled by an exhaust ventilation system.
 
(viii)
Exhaust ventilation system. A system for removing contaminated air from a space, comprising two or more of the following elements (a) enclosure or hood, (b) duct work, (c) dust collecting equipment, (d) exhauster, and (e) discharge stack.
 
(ix)
Particulate-filter respirator. An air purifying respirator, commonly referred to as a dust or a fume respirator, which removes most of the dust or fume from the air passing through the device.
 
(x)
Respirable dust. Airborne dust in sizes capable of passing through the upper respiratory system to reach the lower lung passages.
 
(xi)
Rotary blast cleaning table. An enclosure where the pieces to be cleaned are positioned on a rotating table and are passed automatically through a series of blast sprays.
 
(xii)
Abrasive blasting. The forcible application of an abrasive to a surface by pneumatic pressure, hydraulic pressure, or centrifugal force.
 
(2)
Dust hazards from abrasive blasting.
 
(i)
Abrasives and the surface coatings on the materials blasted are shattered and pulverized during blasting operations and the dust formed will contain particles of respirable size. The composition and toxicity of the dust from these sources shall be considered in making an evaluation of the potential health hazards.
 
(ii)
The concentration of respirable dust or fume in the breathing zone of the abrasive-blasting operator or any other worker shall be kept below the levels specified in §1910.1000.
 
(iii)
Organic abrasives which are combustible shall be used only in automatic systems. Where flammable or explosive dust mixtures may be present, the construction of the equipment, including the exhaust system and all electric wiring, shall conform to the requirements of American National Standard Installation of Blower and Exhaust Systems for Dust, Stock, and Vapor Removal or Conveying, Z33.1-1961 (NFPA 91-1961), which is incorporated by reference as specified in §1910.6, and subpart S of this part. The blast nozzle shall be bonded and grounded to prevent the build up of static charges. Where flammable or explosive dust mixtures may be present, the abrasive blasting enclosure, the ducts, and the dust collector shall be constructed with loose panels or explosion venting areas, located on sides away from any occupied area, to provide for pressure relief in case of explosion, following the principles set forth in the National Fire Protection Association Explosion Venting Guide, NFPA 68-1954, which is incorporated by reference as specified in §1910.6.
 
(3)
Blast-cleaning enclosures.
 
(i)
Blast-cleaning enclosures shall be exhaust ventilated in such a way that a continuous inward flow of air will be maintained at all openings in the enclosure during the blasting operation.
 
[a]
All air inlets and access openings shall be baffled or so arranged that by the combination of inward air flow and baffling the escape of abrasive or dust particules into an adjacent work area will be minimized and visible spurts of dust will not be observed.
 
[b]
The rate of exhaust shall be sufficient to provide prompt clearance of the dust-laden air within the enclosure after the cessation of blasting.
 
[c]
Before the enclosure is opened, the blast shall be turned off and the exhaust system shall be run for a sufficient period of time to remove the dusty air within the enclosure.
 
[d]
Safety glass protected by screening shall be used in observation windows, where hard deep-cutting abrasives are used.
 
[e]
Slit abrasive-resistant baffles shall be installed in multiple sets at all small access openings where dust might escape, and shall be inspected regularly and replaced when needed.
 
[1]
Doors shall be flanged and tight when closed.
 
[2]
Doors on blast-cleaning rooms shall be operable from both inside and outside, except that where there is a small operator access door, the large work access door may be closed or opened from the outside only.
 
(ii)
[Reserved]
 
(4)
Exhaust ventilation systems.
 
(i)
The construction, installation, inspection, and maintenance of exhaust systems shall conform to the principles and requirements set forth in American National Standard Fundamentals Governing the Design and Operation of Local Exhaust Systems, Z9.2-1960, and ANSI Z33.1-1961, which is incorporated by reference as specified in §1910.6.
 
[a]
When dust leaks are noted, repairs shall be made as soon as possible.
 
[b]
The static pressure drop at the exhaust ducts leading from the equipment shall be checked when the installation is completed and periodically thereafter to assure continued satisfactory operation. Whenever an appreciable change in the pressure drop indicates a partial blockage, the system shall be cleaned and returned to normal operating condition.
 
(ii)
In installations where the abrasive is recirculated, the exhaust ventilation system for the blasting enclosure shall not be relied upon for the removal of fines from the spent abrasive instead of an abrasive separator. An abrasive separator shall be provided for the purpose.
 
(iii)
The air exhausted from blast-cleaning equipment shall be discharged through dust collecting equipment. Dust collectors shall be set up so that the accumulated dust can be emptied and removed without contaminating other working areas.
 
(5)
Personal protective equipment.
 
(i)
Employers must use only respirators approved by the National Institute for Occupational Safety and Health (NIOSH) under 42 CFR part 84 to protect employees from dusts produced during abrasive-blasting operations.
 
(ii)
Abrasive-blasting respirators shall be worn by all abrasive- blasting operators:
 
[a]
When working inside of blast-cleaning rooms, or
 
[b]
When using silica sand in manual blasting operations where the nozzle and blast are not physically separated from the operator in an exhaust ventilated enclosure, or
 
[c]
Where concentrations of toxic dust dispersed by the abrasive blasting may exceed the limits set in §1910.1000 and the nozzle and blast are not physically separated from the operator in an exhaust-ventilated enclosure.
 
(iii)
Properly fitted particulate-filter respirators, commonly referred to as dust-filter respirators, may be used for short, intermittent, or occasional dust exposures such as cleanup, dumping of dust collectors, or unloading shipments of sand at a receiving point when it is not feasible to control the dust by enclosure, exhaust ventilation, or other means. The respirators used must be approved by NIOSH under 42 CFR part 84 for protection against the specific type of dust encountered.
 
[a]
Dust-filter respirators may be used to protect the operator of outside abrasive-blasting operations where nonsilica abrasives are used on materials having low toxicities.
 
[b]
Dust-filter respirators shall not be used for continuous protection where silica sand is used as the blasting abrasive, or toxic materials are blasted.
 
(iv)
For employees who use respirators required by this section, the employer must implement a respiratory protection program in accordance with 29 CFR 1910.134.
 
(v)
Operators shall be equipped with heavy canvas or leather gloves and aprons or equivalent protection to protect them from the impact of abrasives. Safety shoes shall be worn to protect against foot injury where heavy pieces of work are handled.
 
[a]
Protective footwear must comply with the requirements specified by 29 CFR 1910.136(b)(1).
 
[b]
Equipment for protection of the eyes and face shall be supplied to the operator when the respirator design does not provide such protection and to any other personnel working in the vicinity of abrasive blasting operations. This equipment shall conform to the requirements of §1910.133.
 
(6)
Air supply and air compressors. Air for abrasive-blasting respirators must be free of harmful quantities of dusts, mists, or noxious gases, and must meet the requirements for supplied-air quality and use specified in 29 CFR 1910.134(i).
 
(7)
Operational procedures and general safety. Dust shall not be permitted to accumulate on the floor or on ledges outside of an abrasive-blasting enclosure, and dust spills shall be cleaned up promptly. Aisles and walkways shall be kept clear of steel shot or similar abrasive which may create a slipping hazard.
 
(8)
Scope. This paragraph (a) applies to all operations where an abrasive is forcibly applied to a surface by pneumatic or hydraulic pressure, or by centrifugal force. It does not apply to steam blasting, or steam cleaning, or hydraulic cleaning methods where work is done without the aid of abrasives.
 
(b)
Grinding, polishing, and buffing operations.
 
(1)
Definitions applicable to this paragraph.
 
(i)
Abrasive cutting-off wheels. Organic-bonded wheels, the thickness of which is not more than one forty-eighth of their diameter for those up to, and including, 20 inches in diameter, and not more than one-sixtieth of their diameter for those larger than 20 inches in diameter, used for a multitude of operations variously known as cutting, cutting off, grooving, slotting, coping, and jointing, and the like. The wheels may be "solid" consisting of organic-bonded abrasive material throughout, "steel centered" consisting of a steel disc with a rim of organic-bonded material moulded around the periphery, or of the "inserted tooth" type consisting of a steel disc with organic-bonded abrasive teeth or inserts mechanically secured around the periphery.
 
(ii)
Belts. All power-driven, flexible, coated bands used for grinding, polishing, or buffing purposes.
 
(iii)
Branch pipe. The part of an exhaust system piping that is connected directly to the hood or enclosure.
 
(iv)
Cradle. A movable fixture, upon which the part to be ground or polished is placed.
 
(v)
Disc wheels. All power-driven rotatable discs faced with abrasive materials, artificial or natural, and used for grinding or polishing on the side of the assembled disc.
 
(vi)
Entry loss. The loss in static pressure caused by air flowing into a duct or hood. It is usually expressed in inches of water gauge.
 
(vii)
Exhaust system. A system consisting of branch pipes connected to hoods or enclosures, one or more header pipes, an exhaust fan, means for separating solid contaminants from the air flowing in the system, and a discharge stack to outside.
 
(viii)
Grinding wheels. All power-driven rotatable grinding or abrasive wheels, except disc wheels as defined in this standard, consisting of abrasive particles held together by artificial or natural bonds and used for peripheral grinding.
 
(ix)
Header pipe (main pipe). A pipe into which one or more branch pipes enter and which connects such branch pipes to the remainder of the exhaust system.
 
(x)
Hoods and enclosures. The partial or complete enclosure around the wheel or disc through which air enters an exhaust system during operation.
 
(xi)
Horizontal double-spindle disc grinder. A grinding machine carrying two power-driven, rotatable, coaxial, horizontal spindles upon the inside ends of which are mounted abrasive disc wheels used for grinding two surfaces simultaneously.
 
(xii)
Horizontal single-spindle disc grinder. A grinding machine carrying an abrasive disc wheel upon one or both ends of a power-driven, rotatable single horizontal spindle.
 
(xiii)
Polishing and buffing wheels. All power-driven rotatable wheels composed all or in part of textile fabrics, wood, felt, leather, paper, and may be coated with abrasives on the periphery of the wheel for purposes of polishing, buffing, and light grinding.
 
(xiv)
Portable grinder. Any power-driven rotatable grinding, polishing, or buffing wheel mounted in such manner that it may be manually manipulated.
 
(xv)
Scratch brush wheels. All power-driven rotatable wheels made from wire or bristles, and used for scratch cleaning and brushing purposes.
 
(xvi)
Swing-frame grinder. Any power-driven rotatable grinding, polishing, or buffing wheel mounted in such a manner that the wheel with its supporting framework can be manipulated over stationary objects.
 
(xvii)
Velocity pressure (vp). The kinetic pressure in the direction of flow necessary to cause a fluid at rest to flow at a given velocity. It is usually expressed in inches of water gauge.
 
(xviii)
Vertical spindle disc grinder. A grinding machine having a vertical, rotatable power-driven spindle carrying a horizontal abrasive disc wheel.
 
(2)
Application. Wherever dry grinding, dry polishing or buffing is performed, and employee exposure, without regard to the use of respirators, exceeds the permissible exposure limits prescribed in §1910.1000 or other sections of this part, a local exhaust ventilation system shall be provided and used to maintain employee exposures within the prescribed limits.
 
(3)
Hood and branch pipe requirements.
 
(i)
Hoods connected to exhaust systems shall be used, and such hoods shall be designed, located, and placed so that the dust or dirt particles shall fall or be projected into the hoods in the direction of the air flow. No wheels, discs, straps, or belts shall be operated in such manner and in such direction as to cause the dust and dirt particles to be thrown into the operator's breathing zone.
 
(ii)
Grinding wheels on floor stands, pedestals, benches, and special-purpose grinding machines and abrasive cutting-off wheels shall have not less than the minimum exhaust volumes shown in Table G-4 with a recommended minimum duct velocity of 4,500 feet per minute in the branch and 3,500 feet per minute in the main. The entry losses from all hoods except the vertical-spindle disc grinder hood, shall equal 0.65 velocity pressure for a straight takeoff and 0.45 velocity pressure for a tapered takeoff. The entry loss for the vertical-spindle disc grinder hood is shown in figure G-1 (following §1910.94(b)).

Table G-4 — Grinding and Abrasive Cutting-Off Wheels

Wheel diameter (inches)Wheel width (inches)Minimum exhaust volume (feet³/min.)
To 9220
Over 9 to 162390
Over 16 to 193500
Over 19 to 244610
Over 24 to 305880
Over 30 to 3661,200

For any wheel wider than wheel diameters shown in Table G-4, increase the exhaust volume by the ratio of the new width to the width shown.

Example: If wheel width = 4½ inches, then

4.5 ÷ 4 × 610=686 (rounded to 690).

 
(iii)
Scratch-brush wheels and all buffing and polishing wheels mounted on floor stands, pedestals, benches, or special-purpose machines shall have not less than the minimum exhaust volume shown in Table G-5.

Table G-5 — Buffing and Polishing Wheels

Wheel diameter (inches)Wheel width (inches)Minimum exhaust volume (feet³/min.)
To 92300
Over 9 to 163500
Over 16 to 194610
Over 19 to 245740
Over 24 to 3061,040
Over 30 to 3661,200
 
(iv)
Grinding wheels or discs for horizontal single-spindle disc grinders shall be hooded to collect the dust or dirt generated by the grinding operation and the hoods shall be connected to branch pipes having exhaust volumes as shown in Table G-6.

Table G-6 — Horizontal Single-Spindle Disc Grinder

Disc diameter (inches)Exhaust volume (ft.³/min.)
Up to 12220
Over 12 to 19390
Over 19 to 30610
Over 30 to 36880
 
(v)
Grinding wheels or discs for horizontal double-spindle disc grinders shall have a hood enclosing the grinding chamber and the hood shall be connected to one or more branch pipes having exhaust volumes as shown in Table G-7.

Table G-7 — Horizontal Double-Spindle Disc Grinder

Disc diameter (inches)Exhaust volume (ft.³/min.)
Up to 19610
Over 19 to 25880
Over 25 to 301,200
Over 30 to 531,770
Over 53 to 726,280
 
(vi)
Grinding wheels or discs for vertical single-spindle disc grinders shall be encircled with hoods to remove the dust generated in the operation. The hoods shall be connected to one or more branch pipes having exhaust volumes as shown in Table G-8.

Table G-8 — Vertical Spindle Disc Grinder

Disc diameter (inches)One-half or more of disc coveredDisc not covered
Number¹Exhaust foot³/min.)Number¹Exhaust foot³/min.
Up to 2015002780
Over 20 to 30278021,480
Over 30 to 5321,77043,530
Over 53 to 7223,14056,010

¹Number of exhaust outlets around periphery of hood, or equal distribution provided by other means.

 
(vii)
Grinding and polishing belts shall be provided with hoods to remove dust and dirt generated in the operations and the hoods shall be connected to branch pipes having exhaust volumes as shown in Table G-9.

Table G-9 — Grinding and Polishing Belts

Belts width (inches)Exhaust volume (ft.³/min.)
Up to 3220
Over 3 to 5300
Over 5 to 7390
Over 7 to 9500
Over 9 to 11610
Over 11 to 13740
 
(viii)
Cradles and swing-frame grinders. Where cradles are used for handling the parts to be ground, polished, or buffed, requiring large partial enclosures to house the complete operation, a minimum average air velocity of 150 feet per minute shall be maintained over the entire opening of the enclosure. Swing-frame grinders shall also be exhausted in the same manner as provided for cradles. (See fig. G-3)
 
(ix)
Where the work is outside the hood, air volumes must be increased as shown in American Standard Fundamentals Governing the Design and Operation of Local Exhaust Systems, Z9.2-1960 (section 4, exhaust hoods).
 
(4)
Exhaust systems.
 
(i)
Exhaust systems for grinding, polishing, and buffing operations should be designed in accordance with American Standard Fundamentals Governing the Design and Operation of Local Exhaust Systems, Z9.2-1960.
 
(ii)
Exhaust systems for grinding, polishing, and buffing operations shall be tested in the manner described in American Standard Fundamentals Governing the Design and Operation of Local Exhaust Systems, Z9.2-1960.
 
(iii)
All exhaust systems shall be provided with suitable dust collectors.
 
(5)
Hood and enclosure design.
 
(i)
 
[a]
It is the dual function of grinding and abrasive cutting-off wheel hoods to protect the operator from the hazards of bursting wheels, as well as to provide a means for the removal of dust and dirt generated. All hoods shall be not less in structural strength than specified in Tables O-1 and O-9 of §1910.215.
 
[b]
Due to the variety of work and types of grinding machines employed, it is necessary to develop hoods adaptable to the particular machine in question, and such hoods shall be located as close as possible to the operation.
 
(ii)
Exhaust hoods for floor stands, pedestals, and bench grinders shall be designed in accordance with figure G-2. The adjustable tongue shown in the figure shall be kept in working order and shall be adjusted within one-fourth inch of the wheel periphery at all times.
 
(iii)
Swing-frame grinders shall be provided with exhaust booths as indicated in figure G-3.
 
(iv)
Portable grinding operations, whenever the nature of the work permits, shall be conducted within a partial enclosure. The opening in the enclosure shall be no larger than is actually required in the operation and an average face air velocity of not less than 200 feet per minute shall be maintained.
 
(v)
Hoods for polishing and buffing and scratch-brush wheels shall be constructed to conform as closely to figure G-4 as the nature of the work will permit.
 
(vi)
Cradle grinding and polishing operations shall be performed within a partial enclosure similar to figure G-5. The operator shall be positioned outside the working face of the opening of the enclosure. The face opening of the enclosure should not be any greater in area than that actually required for the performance of the operation and the average air velocity into the working face of the enclosure shall not be less than 150 feet per minute.
 
(vii)
Hoods for horizontal single-spindle disc grinders shall be constructed to conform as closely as possible to the hood shown in figure G-6. It is essential that there be a space between the back of the wheel and the hood, and a space around the periphery of the wheel of at least 1 inch in order to permit the suction to act around the wheel periphery. The opening on the side of the disc shall be no larger than is required for the grinding operation, but must never be less than twice the area of the branch outlet.
 
(viii)
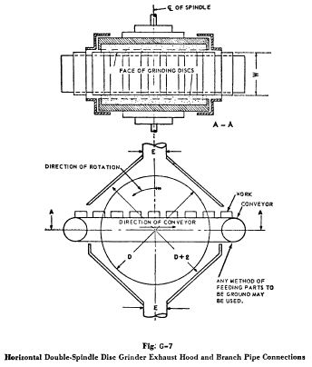
Horizontal double-spindle disc grinders shall have a hood encircling the wheels and grinding chamber similar to that illustrated in figure G-7. The openings for passing the work into the grinding chamber should be kept as small as possible, but must never be less than twice the area of the branch outlets.
 
(ix)
Vertical-spindle disc grinders shall be encircled with a hood so constructed that the heavy dust is drawn off a surface of the disc and the lighter dust exhausted through a continuous slot at the top of the hood as shown in figure G-1.
 
(x)
Grinding and polishing belt hoods shall be constructed as close to the operation as possible. The hood should extend almost to the belt, and 1-inch wide openings should be provided on either side. Figure G-8 shows a typical hood for a belt operation.
Figure G-1 - Vertical Spindle Disc Grinder Exhaust Hood and Branch Pipe Connections
Dia D. inchesExhaust EVolume Exhausted at 4,500 ft/min ft³/minNote
Min.Max.No PipesDia.
201500When one-half or more of the disc can be hooded, use exhaust ducts as shown at the left.
Over 203024780
Over 3072261,770
Over 5372283,140
2024780When no hood can be used over disc, use exhaust ducts as shown at left.
Over 202024780
Over 303021,480
Over 5353463,530
72576,010

Entry loss = 1.0 slot velocity pressure + 0.5 branch velocity pressure.

Minimum slot velocity = 2,000 ft/min — ½-inch slot width.

Figure G-2 Standard Grinder Hood
Wheel dimension, inchesExhaust outlet, inches EVolume of air at 4,500 ft/min
DiameterWidth, Max
Min = dMax = D
93220
Over 91624390
Over 16193500
Over 192445610
Over 243056880
Over 3036671,200

Entry loss = 0.45 velocity pressure for tapered takeoff 0.65 velocity pressure for straight takeoff.

Figure G-3 — A Method of Applying an Exhaust Enclosure to Swing-Frame Grinders

NOTE: Baffle to reduce front opening as much as possible

Figure G-4 — Standard Buffing and Polishing Hood
Wheel dimension, inchesExhaust outlet, inches EVolume of air at 4,500 ft/min
DiameterWidth, Max
Min = dMax = D
92300
Over 91634500
Over 161945610
Over 19245740
Over 243061.040
Over 3036671.200

Entry loss = 0.15 velocity pressure for tapered takeoff; 0.65 velocity pressure for straight takeoff.

Figure G-5 Cradle Polishing or Grinding Enclosure

Entry loss = 0.45 velocity pressure for tapered takeoff

Figure G-6 Horizontal Single-Spindle Disc Grinder Exhaust Hood and Branch Pipe Connections
Dia D, inchesExhaust E, dia. inchesVolume exhausted at 4,500 ft/min ft³/min
Min.Max.
123220
Over 12194390
Over 19305610
Over 30366880

Note: If grinding wheels are used for disc grinding purposes, hoods must conform to structural strength and materials as described in 9.1.

Entry loss = 0.45 velocity pressure for tapered takeoff.

Figure G-7 Horizontal Double-Spindle Disc Grinder Exhaust Hood and Branch Pipe Connections
Disc dia. inchesExhaust EVolume exhaust at 4,500 ft/min. ft³/minNote
Min.Max.No PipesDia.
1915610
Over 192516880When width "W" permits, exhaust ducts should be as near heaviest grinding as possible.
Over 2530171,200
Over 3053261,770
Over 5372486,280

Entry loss = 0.45 velocity pressure for tapered takeoff.

Figure G-8 — A Typical Hood for a Belt Operation
Belt width W. InchesExhaust volume. ft.¹/min
Up to 3220
3 to 5300
5 to 7390
7 to 9500
9 to 11610
11 to 13740

Minimum duct velocity = 4,500 ft/min branch, 3,500 ft/min main.

Entry loss = 0.45 velocity pressure for tapered takeoff; 0.65 velocity pressure for straight takeoff.

 
(6)
Scope. This paragraph (b), prescribes the use of exhaust hood enclosures and systems in removing dust, dirt, fumes, and gases generated through the grinding, polishing, or buffing of ferrous and nonferrous metals.
 
(c)
Spray finishing operations.
 
(1)
Definitions applicable to this paragraph.
 
(i)
Spray-finishing operations. Spray-finishing operations are employment of methods wherein organic or inorganic materials are utilized in dispersed form for deposit on surfaces to be coated, treated, or cleaned. Such methods of deposit may involve either automatic, manual, or electrostatic deposition but do not include metal spraying or metallizing, dipping, flow coating, roller coating, tumbling, centrifuging, or spray washing and degreasing as conducted in self-contained washing and degreasing machines or systems.
 
(ii)
Spray booth. Spray booths are defined and described in §1910.107(a).
 
(iii)
Spray room. A spray room is a room in which spray-finishing operations not conducted in a spray booth are performed separately from other areas.
 
(iv)
Minimum maintained velocity. Minimum maintained velocity is the velocity of air movement which must be maintained in order to meet minimum specified requirements for health and safety.
 
(2)
Location and application. Spray booths or spray rooms are to be used to enclose or confine all operations. Spray-finishing operations shall be located as provided in sections 201 through 206 of the Standard for Spray Finishing Using Flammable and Combustible Materials, NFPA No. 33-1969.
 
(3)
Design and construction of spray booths.
 
(i)
Spray booths shall be designed and constructed in accordance with §1910.107(b)(1) through (b)(4) and (b)(6) through (b)(10). For a more detailed discussion of fundamentals relating to this subject, see ANSI Z9.2-1960, which is incorporated by reference as specified in §1910.6.
 
[a]
Lights, motors, electrical equipment, and other sources of ignition shall conform to the requirements of §1910.107(b)(10) and (c).
 
[b]
In no case shall combustible material be used in the construction of a spray booth and supply or exhaust duct connected to it.
 
(ii)
Unobstructed walkways shall not be less than 6½ feet high and shall be maintained clear of obstruction from any work location in the booth to a booth exit or open booth front. In booths where the open front is the only exit, such exits shall be not less than 3 feet wide. In booths having multiple exits, such exits shall not be less than 2 feet wide, provided that the maximum distance from the work location to the exit is 25 feet or less. Where booth exits are provided with doors, such doors shall open outward from the booth.
 
(iii)
Baffles, distribution plates, and dry-type overspray collectors shall conform to the requirements of §1910.107(b)(4) and (b)(5).
 
[a]
Overspray filters shall be installed and maintained in accordance with the requirements of §1910.107(b)(5), and shall only be in a location easily accessible for inspection, cleaning, or replacement.
 
[b]
Where effective means, independent of the overspray filters, are installed which will result in design air distribution across the booth cross section, it is permissible to operate the booth without the filters in place.
 
(iv)
 
[a]
For wet or water-wash spray booths, the water-chamber enclosure, within which intimate contact of contaminated air and cleaning water or other cleaning medium is maintained, if made of steel, shall be 18 gage or heavier and adequately protected against corrosion.
 
[b]
Chambers may include scrubber spray nozzles, headers, troughs, or other devices. Chambers shall be provided with adequate means for creating and maintaining scrubbing action for removal of particulate matter from the exhaust air stream.
 
(v)
Collecting tanks shall be of welded steel construction or other suitable non-combustible material. If pits are used as collecting tanks, they shall be concrete, masonry, or other material having similar properties.
 
[a]
Tanks shall be provided with weirs, skimmer plates, or screens to prevent sludge and floating paint from entering the pump suction box. Means for automatically maintaining the proper water level shall also be provided. Fresh water inlets shall not be submerged. They shall terminate at least one pipe diameter above the safety overflow level of the tank.
 
[b]
Tanks shall be so constructed as to discourage accumulation of hazardous deposits.
 
(vi)
Pump manifolds, risers, and headers shall be adequately sized to insure sufficient water flow to provide efficient operation of the water chamber.
 
(4)
Design and construction of spray rooms.
 
(i)
Spray rooms, including floors, shall be constructed of masonry, concrete, or other noncombustible material.
 
(ii)
Spray rooms shall have noncombustible fire doors and shutters.
 
(iii)
Spray rooms shall be adequately ventilated so that the atmosphere in the breathing zone of the operator shall be maintained in accordance with the requirements of paragraph (c)(6)(ii) of this section.
 
(iv)
Spray rooms used for production spray-finishing operations shall conform to the requirements for spray booths.
 
(5)
Ventilation.
 
(i)
Ventilation shall be provided in accordance with provisions of §1910.107(d), and in accordance with the following:
 
[a]
Where a fan plenum is used to equalize or control the distribution of exhaust air movement through the booth, it shall be of sufficient strength or rigidity to withstand the differential air pressure or other superficially imposed loads for which the equipment is designed and also to facilitate cleaning. Construction specifications shall be at least equivalent to those of paragraph (c)(5)(iii) of this section.
 
[b]
[Reserved]
 
(ii)
Inlet or supply ductwork used to transport makeup air to spray booths or surrounding areas shall be constructed of noncombustible materials.
 
[a]
If negative pressure exists within inlet ductwork, all seams and joints shall be sealed if there is a possibility of infiltration of harmful quantities of noxious gases, fumes, or mists from areas through which ductwork passes.
 
[b]
Inlet ductwork shall be sized in accordance with volume flow requirements and provide design air requirements at the spray booth.
 
[c]
Inlet ductwork shall be adequately supported throughout its length to sustain at least its own weight plus any negative pressure which is exerted upon it under normal operating conditions.
 
(iii)
 
[a]
Exhaust ductwork shall be adequately supported throughout its length to sustain its weight plus any normal accumulation in interior during normal operating conditions and any negative pressure exerted upon it.
 
[b]
Exhaust ductwork shall be sized in accordance with good design practice which shall include consideration of fan capacity, length of duct, number of turns and elbows, variation in size, volume, and character of materials being exhausted. See American National Standard Z9.2-1960 for further details and explanation concerning elements of design.
 
[c]
Longitudinal joints in sheet steel ductwork shall be either lock-seamed, riveted, or welded. For other than steel construction, equivalent securing of joints shall be provided.
 
[d]
Circumferential joints in ductwork shall be substantially fastened together and lapped in the direction of airflow. At least every fourth joint shall be provided with connecting flanges, bolted together, or of equivalent fastening security.
 
[e]
Inspection or clean-out doors shall be provided for every 9 to 12 feet of running length for ducts up to 12 inches in diameter, but the distance between cleanout doors may be greater for larger pipes. A clean-out door or doors shall be provided for servicing the fan, and where necessary, a drain shall be provided.
 
[f]
Where ductwork passes through a combustible roof or wall, the roof or wall shall be protected at the point of penetration by open space or fire-resistive material between the duct and the roof or wall. When ducts pass through firewalls, they shall be provided with automatic fire dampers on both sides of the wall, except that three-eighth-inch steel plates may be used in lieu of automatic fire dampers for ducts not exceeding 18 inches in diameter.
 
[g]
Ductwork used for ventilating any process covered in this standard shall not be connected to ducts ventilating any other process or any chimney or flue used for conveying any products of combustion.
 
(6)
Velocity and air flow requirements.
 
(i)
Except where a spray booth has an adequate air replacement system, the velocity of air into all openings of a spray booth shall be not less than that specified in Table G-10 for the operating conditions specified. An adequate air replacement system is one which introduces replacement air upstream or above the object being sprayed and is so designed that the velocity of air in the booth cross section is not less than that specified in Table G-10 when measured upstream or above the object being sprayed.

Table G-10 — Minimum Maintained Velocities Into Spray Booths

Operating conditions for objects completely inside boothCrossdraft, f.p.m.Airflow velocities, f.p.m.
DesignRange
Electrostatic and automatic airless operation contained in booth without operatorNegligible50 large booth50-75
100 small booth75-125
Air-operated guns, manual or automaticUp to 50100 large booth75-125
150 small booth125-175
Air-operated guns, manual or automaticUp to 100150 large booth125-175
200 small booth150-250

Notes:

(1)Attention is invited to the fact that the effectiveness of the spray booth is dependent upon the relationship of the depth of the booth to its height and width.
(2)Crossdrafts can be eliminated through proper design and such design should be sought. Crossdrafts in excess of 100fpm (feet per minute) should not be permitted.
(3)Excessive air pressures result in loss of both efficiency and material waste in addition to creating a backlash that may carry overspray and fumes into adjacent work areas.
(4)Booths should be designed with velocities shown in the column headed "Design." However, booths operating with velocities shown in the column headed "Range" are in compliance with this standard.
 
(ii)
In addition to the requirements in paragraph (c)(6)(i) of this section the total air volume exhausted through a spray booth shall be such as to dilute solvent vapor to at least 25 percent of the lower explosive limit of the solvent being sprayed. An example of the method of calculating this volume is given below.

Example: To determine the lower explosive limits of the most common solvents used in spray finishing, see Table G-11. Column 1 gives the number of cubic feet of vapor per gallon of solvent and column 2 gives the lower explosive limit (LEL) in percentage by volume of air. Note that the quantity of solvent will be diminished by the quantity of solids and nonflammables contained in the finish.

To determine the volume of air in cubic feet necessary to dilute the vapor from 1 gallon of solvent to 25 percent of the lower explosive limit, apply the following formula:

Dilution volume required per gallon of solvent = 4 (100-LEL) (cubic feet of vapor per gallon) ÷ LEL

Using toluene as the solvent.

 
(1)
LEL of toluene from Table G-11, column 2, is 1.4 percent.
 
(2)
Cubic feet of vapor per gallon from Table G-11, column 1, is 30.4 cubic feet per gallon.
 
(3)
Dilution volume required=

4 (100-1.4) 30.4 ÷ 1.4 = 8,564 cubic feet.

 
(4)
To convert to cubic feet per minute of required ventilation, multiply the dilution volume required per gallon of solvent by the number of gallons of solvent evaporated per minute.

Table G-11 — Lower Explosive Limit of Some Commonly Used Solvents

SolventCubic feet per gallon of vapor of liquid at 70 °FLower explosive limit in percent by volume of air at 70 °F
Column 1Column 2
Acetone44.02.6
Amyl Acetate (iso)21.6¹1.0
Amyl Alcohol (n)29.61.2
Amyl Alcohol (iso)29.61.2
Benzene36.8¹1.4
Butyl Acetate (n)24.81.7
Butyl Alcohol (n)35.21.4
Butyl Cellosolve24.81.1
Cellosolve33.61.8
Cellosolve Acetate23.21.7
Cyclohexanone31.2¹1.1
1,1 Dichloroethylene42.45.9
1,2 Dichloroethylene42.49.7
Ethyl Acetate32.82.5
Ethyl Alcohol55.24.3
Ethyl Lactate28.0¹1.5
Methyl Acetate40.03.1
Methyl Alcohol80.87.3
Methyl Cellosolve40.82.5
Methyl Ethyl Ketone36.01.8
Methyl n-Propyl Ketone30.41.5
Naphtha (VM&P) (76° Naphtha)22.40.9
Naphtha (100 °Flash) Safety Solvent — Stoddard Solvent23.21.0
Propyl Acetate (n)27.22.8
Propyl Acetate (iso)28.01.1
Propyl Alcohol (n)44.82.1
Propyl Alcohol (iso)44.02.0
Toluene30.41.4
Turpentine20.80.8
Xylene (o)26.41.0

¹At 212 °F.

 
(iii)
 
[a]
When an operator is in a booth downstream from the object being sprayed, an air-supplied respirator or other type of respirator must be used by employees that has been approved by NIOSH under 42 CFR part 84 for the material being sprayed.
 
[b]
Where downdraft booths are provided with doors, such doors shall be closed when spray painting.
 
(7)
Make-up air.
 
(i)
Clean fresh air, free of contamination from adjacent industrial exhaust systems, chimneys, stacks, or vents, shall be supplied to a spray booth or room in quantities equal to the volume of air exhausted through the spray booth.
 
(ii)
Where a spray booth or room receives make-up air through self- closing doors, dampers, or louvers, they shall be fully open at all times when the booth or room is in use for spraying. The velocity of air through such doors, dampers, or louvers shall not exceed 200 feet per minute. If the fan characteristics are such that the required air flow through the booth will be provided, higher velocities through the doors, dampers, or louvers may be used.
 
(iii)
 
[a]
Where the air supply to a spray booth or room is filtered, the fan static pressure shall be calculated on the assumption that the filters are dirty to the extent that they require cleaning or replacement.
 
[b]
The rating of filters shall be governed by test data supplied by the manufacturer of the filter. A pressure gage shall be installed to show the pressure drop across the filters. This gage shall be marked to show the pressure drop at which the filters require cleaning or replacement. Filters shall be replaced or cleaned whenever the pressure drop across them becomes excessive or whenever the air flow through the face of the booth falls below that specified in Table G-10.
 
(iv)
 
[a]
Means for heating make-up air to any spray booth or room, before or at the time spraying is normally performed, shall be provided in all places where the outdoor temperature may be expected to remain below 55 °F. for appreciable periods of time during the operation of the booth except where adequate and safe means of radiant heating for all operating personnel affected is provided. The replacement air during the heating seasons shall be maintained at not less than 65 °F. at the point of entry into the spray booth or spray room. When otherwise unheated make-up air would be at a temperature of more than 10 °F. below room temperature, its temperature shall be regulated as provided in section 3.6.3 of ANSI Z9.2-1960.
 
[b]
As an alternative to an air replacement system complying with the preceding section, general heating of the building in which the spray room or booth is located may be employed provided that all occupied parts of the building are maintained at not less than 65 °F. when the exhaust system is in operation or the general heating system supplemented by other sources of heat may be employed to meet this requirement.
 
[c]
No means of heating make-up air shall be located in a spray booth.
 
[d]
Where make-up air is heated by coal or oil, the products of combustion shall not be allowed to mix with the make-up air, and the products of combustion shall be conducted outside the building through a flue terminating at a point remote from all points where make-up air enters the building.
 
[e]
Where make-up air is heated by gas, and the products of combustion are not mixed with the make-up air but are conducted through an independent flue to a point outside the building remote from all points where make-up air enters the building, it is not necessary to comply with paragraph (c)(7)(iv)(f) of this section.
 
[f]
Where make-up air to any manually operated spray booth or room is heated by gas and the products of combustion are allowed to mix with the supply air, the following precautions must be taken:
 
[1]
The gas must have a distinctive and strong enough odor to warn workmen in a spray booth or room of its presence if in an unburned state in the make-up air.
 
[2]
The maximum rate of gas supply to the make-up air heater burners must not exceed that which would yield in excess of 200 p.p.m. (parts per million) of carbon monoxide or 2,000 p.p.m. of total combustible gases in the mixture if the unburned gas upon the occurrence of flame failure were mixed with all of the make-up air supplied.
 
[3]
A fan must be provided to deliver the mixture of heated air and products of combustion from the plenum chamber housing the gas burners to the spray booth or room.
 
(8)
Scope. Spray booths or spray rooms are to be used to enclose or confine all spray finishing operations covered by this paragraph (c). This paragraph does not apply to the spraying of the exteriors of buildings, fixed tanks, or similar structures, nor to small portable spraying apparatus not used repeatedly in the same location.

[39 FR 23502, June 27, 1974, as amended at 40 FR 23073, May 28, 1975; 40 FR 24522, June 9, 1975; 43 FR 49746, Oct. 24, 1978; 49 FR 5322, Feb. 10, 1984; 55 FR 32015, Aug. 6, 1990; 58 FR 35308, June 30, 1993; 61 FR 9236, Mar. 7, 1996; 63 FR 1269, Jan. 8, 1998; 64 FR 13909, Mar. 23, 1999; 72 FR 71069, Dec. 14, 2007; 74 FR 46356, Sept. 9, 2009]

   Reason: