Login required to View Regulations

Sign In or Register Now.  Registration is fast and free!

 
§1926.705 — Requirements for lift-slab construction operations
 
(a)
Lift-slab operations shall be designed and planned by a registered professional engineer who has experience in lift-slab construction. Such plans and designs shall be implemented by the employer and shall include detailed instructions and sketches indicating the prescribed method of erection. These plans and designs shall also include provisions for ensuring lateral stability of the building/structure during construction.
 
(b)
Jacks/lifting units shall be marked to indicate their rated capacity as established by the manufacturer.
 
(c)
Jacks/lifting units shall not be loaded beyond their rated capacity as established by the manufacturer.
 
(d)
Jacking equipment shall be capable of supporting at least two and one-half times the load being lifted during jacking operations and the equipment shall not be overloaded. For the purpose of this provision, jacking equipment includes any load bearing component which is used to carry out the lifting operation(s). Such equipment includes, but is not limited, to the following: threaded rods, lifting attachments, lifting nuts, hook-up collars, T-caps, shearheads, columns, and footings.
 
(e)
Jacks/lifting units shall be designed and installed so that they will neither lift nor continue to lift when they are loaded in excess of their rated capacity.
 
(f)
Jacks/lifting units shall have a safety device installed which will cause the jacks/lifting units to support the load in any position in the event any jack/lifting unit malfunctions or loses its lifting ability.
 
(g)
Jacking operations shall be synchronized in such a manner to ensure even and uniform lifting of the slab. During lifting, all points at which the slab is supported shall be kept within 1/2 inch of that needed to maintain the slab in a level position.
 
(h)
If leveling is automatically controlled, a device shall be installed that will stop the operation when the ½ inch tolerance set forth in paragraph (g) of this section is exceeded or where there is a malfunction in the jacking (lifting) system.
 
(i)
If leveling is maintained by manual controls, such controls shall be located in a central location and attended by a competent person while lifting is in progress. In addition to meeting the definition in §1926.32(f), the competent person must be experienced in the lifting operation and with the lifting equipment being used.
 
(j)
The maximum number of manually controlled jacks/lifting units on one slab shall be limited to a number that will permit the operator to maintain the slab level within specified tolerances of paragraph (g) of this section, but in no case shall that number exceed 14.
 
(k)
 
(1)
No employee, except those essential to the jacking operation, shall be permitted in the building/structure while any jacking operation is taking place unless the building/structure has been reinforced sufficiently to ensure its integrity during erection. The phrase "reinforced sufficiently to ensure its integrity" used in this paragraph means that a registered professional engineer, independent of the engineer who designed and planned the lifting operation, has determined from the plans that if there is a loss of support at any jack location, that loss will be confined to that location and the structure as a whole will remain stable.
 
(2)
Under no circumstances, shall any employee who is not essential to the jacking operation be permitted immediately beneath a slab while it is being lifted.
 
(3)
For the purpose of paragraph (k) of this section, a jacking operation begins when a slab or group of slabs is lifted and ends when such slabs are secured (with either temporary connections or permanent connections).
 
(4)
Employers who comply with appendix A to §1926.705 shall be considered to be in compliance with the provisions of paragraphs (k)(1) through (k)(3) of this section.
 
(l)
When making temporary connections to support slabs, wedges shall be secured by tack welding, or an equivalent method of securing the wedges to prevent them from falling out of position. Lifting rods may not be released until the wedges at that column have been secured.
 
(m)
All welding on temporary and permanent connections shall be performed by a certified welder, familiar with the welding requirements specified in the plans and specifications for the lift-slab operation.
 
(n)
Load transfer from jacks/lifting units to building columns shall not be executed until the welds on the column shear plates (weld blocks) are cooled to air temperature.
 
(o)
Jacks/lifting units shall be positively secured to building columns so that they do not become dislodged or dislocated.
 
(p)
Equipment shall be designed and installed so that the lifting rods cannot slip out of position or the employer shall institute other measures, such as the use of locking or blocking devices, which will provide positive connection between the lifting rods and attachments and will prevent components from disengaging during lifting operations.
 
Appendix to §1926.705 — Lift-Slab Operations

(This Appendix is non-mandatory.)

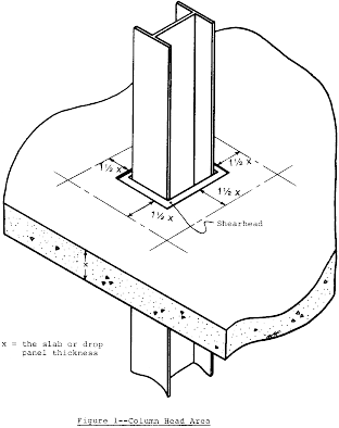
In paragraph 1926.705(k), OSHA requires employees to be removed from the building/structure during jacking operations unless an independent registered professional engineer, other than the engineer who designed and planned the lifting operation, has determined that the building/structure has been sufficiently reinforced to insure the integrity of the building/structure. One method to comply with this provision is for the employer to ensure that continuous bottom steel is provided in every slab and in both directions through every wall or column head area. (Column head area means the distance between lines that are one and one half times the thickness of the slab or drop panel. These lines are located outside opposite faces of the outer edges of the shearhead sections — See Figure 1). The amount of bottom steel shall be established by assuming loss of support at a given lifting jack and then determining the steel necessary to carry, by catenary action over the span between surrounding supports, the slab service dead load plus any service dead and live loads likely to be acting on the slab during jacking. In addition, the surrounding supports must be capable of resisting any additional load transferred to them as a result of the loss of support at the lifting jack considered.

Figure 1 — Column Head Area

[55 FR 42328, Oct. 18, 1990]

   Reason: