Login required to View Regulations

Sign In or Register Now.  Registration is fast and free!

 
§571.224 — Standard No. 224; Rear impact protection
 
S1.
Scope. This standard establishes requirements for the installation of rear impact guards on trailers and semitrailers with a gross vehicle weight rating (GVWR) of 4,536 kg or more.
 
S2.
Purpose. The purpose of this standard is to reduce the number of deaths and serious injuries occurring when light duty vehicles impact the rear of trailers and semitrailers with a GVWR of 4,536 kg or more.
 
S3.
Application. This standard applies to trailers and semitrailers with a GVWR of 4,356 kg or more. The standard does not apply to pole trailers, pulpwood trailers, road construction controlled horizontal discharge trailers, special purpose vehicles, wheels back vehicles, or temporary living quarters as defined in 49 CFR 529.2. If a cargo tank motor vehicle, as defined in 49 CFR 171.8, is certified to carry hazardous materials and has a rear bumper or rear end protection device conforming with 49 CFR part 178 located in the area of the horizontal member of the rear underride guard required by this standard, the guard need not comply with the energy absorption requirement (S5.2.2) of 49 CFR 571.223.
 
S4.
Definitions.
 
Chassis means the load supporting frame structure of a motor vehicle.
 
Horizontal member means the structural member of the guard that meets the configuration requirements of S5.1 of this section when the guard is installed on the vehicle according to the installation instructions or procedures required by S5.5 of §571.223, Rear Impact Guards.
 
Low chassis vehicle means a trailer or semitrailer having a chassis that extends behind the rearmost point of the rearmost tires and a lower rear surface that meets the configuration requirements of S5.1.1 through 5.1.3 of this section.
 
Outer or Outboard means away from the trailer centerline and toward the side extremities of the trailer.
 
Pulpwood trailer means a trailer that is designed exclusively for harvesting logs or pulpwood and constructed with a skeletal frame with no means for attachment of a solid bed, body, or container.
 
Rear extremity means the rearmost point on a vehicle that is above a horizontal plane located 560 mm above the ground and below a horizontal plane located 1,900 mm above the ground when the vehicle is configured as specified in S5.1 of this section and when the vehicle's cargo doors, tailgate, or other permanent structures are positioned as they normally are when the vehicle is in motion. Nonstructural protrusions such as taillights, rubber bumpers, hinges and latches are excluded from the determination of the rearmost point.
 
Road construction controlled horizontal discharge trailer means a trailer or semitrailer that is equipped with a mechanical drive and a conveyor to deliver asphalt and other road building materials, in a controlled horizontal manner, into a lay down machine or paving equipment for road construction and paving operations.
 
Rounded corner means a guard's outermost end that curves upward or forward toward the front of the vehicle, or both.
 
Side extremity means the outermost point on a vehicle's side that is located above a horizontal plane 560 mm above the ground, below a horizontal plane located 190 cm above the ground, and between a transverse vertical plane tangent to the rear extremity of the vehicle and a transverse vertical plane located 305 mm forward of that plane when the vehicle is configured as specified in S5.1 of this section. Non-structural protrusions such as taillights, hinges, rubber bumpers, and latches are excluded from the determination of the outermost point.
 
Special purpose vehicle means a trailer or semitrailer that:
 
(1)
Has work performing equipment that, while the vehicle is in transit, resides in or moves through any portion of the space bounded:
 
(i)
Vertically from the ground to a horizontal plane 660 mm above the ground;
 
(ii)
Laterally the full width of the trailer, determined by the trailer's side extremities as defined in S4 of this section; and
 
(iii)
From the rear extremity of the trailer as defined in S4 of this section to a transverse vertical plane 305 mm forward of the rear extremity of the trailer; or
 
(2)
Is equipped with a loading platform that, while the vehicle is in transit, is completely stowed in the space bounded by a plane tangent to the underside of the vehicle, the ground, the rear extremity of the vehicle, and the rearmost axle, and that, when operated, deploys from its stowed position to the rear of the vehicle through any portion of the space described above.
 
Wheels back vehicle means a trailer or semitrailer whose rearmost axle is permanently fixed and is located such that the rearmost surface of tires of the size recommended by the vehicle manufacturer for the vehicle on that axle is not more than 305 mm forward of the transverse vertical plane tangent to the rear extremity of the vehicle.
 
S5.
Requirements.
 
S5.1
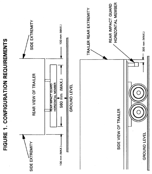
Installation; vehicle configuration. Each vehicle shall be equipped with a rear impact guard certified as meeting Federal Motor Vehicle Safety Standard No. 223, Rear Impact Guards (§571.223). When the vehicle to which the guard is attached is resting on level ground, unloaded, with its full capacity of fuel, and with its tires inflated and air suspension, if so equipped, pressurized in accordance with the manufacturer's recommendations, the guard shall comply with the requirements of S5.1.1 through S5.1.3 of this section. See Figure 1 of this section.
 
S5.1.1
Guard width. The outermost surfaces of the horizontal member of the guard shall extend outboard to within 100 mm of the longitudinal vertical planes that are tangent to the side extremities of the vehicle, but shall not extend outboard of those planes. See Figure 1 of this section.
 
S5.1.2
Guard height. The vertical distance between the bottom edge of the horizontal member of the guard and the ground shall not exceed 560 mm at any point across the full width of the member. Notwithstanding this requirement, guards with rounded corners may curve upward within 255 mm of the longitudinal vertical planes that are tangent to the side extremities of the vehicle. See Figure 1 of this section.
 
S5.1.3
Guard rear surface. At any height 560 mm or more above the ground, the rearmost surface of the horizontal member of the guard shall be located as close as practical to a transverse vertical plane tangent to the rear extremity of the vehicle, but no more than 305 mm forward of that plane. Notwithstanding this requirement, the horizontal member may extend rearward of the plane, and guards with rounded corners may curve forward within 255 mm of the longitudinal vertical planes that are tangent to the side extremities of the vehicle.
 
S5.2
Installation Requirements. Guards shall be attached to the vehicle's chassis by the vehicle manufacturer in accordance with the installation instructions or procedures provided pursuant to S5.5 of Standard No. 223, Rear Impact Guards (§571.223). The vehicle must be of a type identified in the installation instructions as appropriate for the guard.

[61 FR 2035, Jan. 24, 1996, as amended at 63 FR 3662, Jan. 26, 1998; 69 FR 64500, Nov. 5, 2004; 69 FR 67668, Nov. 19, 2004; 71 FR 9277, Feb. 23, 2006]

   Reason: