Login required to View Regulations

Sign In or Register Now.  Registration is fast and free!

 
§571.129 — Standard No. 129; New non-pneumatic tires for passenger cars
 
S1
Scope. This standard specifies tire dimensions and laboratory test requirements for lateral strength, strength, endurance, and high speed performance; defines the tire load rating; and specifies labeling requirements for non-pneumatic spare tires.
 
S2
Application. This standard applies to new temporary spare non-pneumatic tires for use on passenger cars.
 
S3
Definitions.
Carcass means the tire structure except for the tread which provides the major portion of the tire's capability to deflect in response to the vertical loads and tractive forces that the tire transmits from the roadway to the non-pneumatic rim, the wheel center member, or the vehicle and which attaches to the vehicle or attaches, either integrally or separably, to the wheel center member or non-pneumatic rim.
Carcass separation means the pulling away of the carcass from the non-pneumatic rim or wheel center member.
Chunking means the breaking away of pieces of the carcass or tread.
Cracking means any parting within the carcass, tread, or any components that connect the tire to the non-pneumatic rim or wheel center member and, if the non-pneumatic tire is integral with the non-pneumatic rim or wheel center member, any parting within the non-pneumatic rim, or wheel center member.
Load rating means the maximum load a tire is rated to carry.
Maximum tire width means the greater of either the linear distance between the exterior edges of the carcass or the linear distance between the exterior edges of the tread, both being measured parallel to the rolling axis of the tire.
Non-pneumatic rim means a mechanical device which, when a non-pneumatic tire assembly incorporates a wheel, supports the tire, and attaches, either integrally or separably, to the wheel center member and upon which the tire is attached.
Non-pneumatic test rim means with reference to a tire to be tested, any non-pneumatic rim that is listed as appropriate for use with that tire in accordance with S4.4.
Non-pneumatic tire means a mechanical device which transmits, either directly or through a wheel or wheel center member, the vertical load and tractive forces from the roadway to the vehicle, generates the tractive forces that provide the directional control of the vehicle and does not rely on the containment of any gas or fluid for providing those functions.
Non-pneumatic tire assembly means a non-pneumatic tire, alone or in combination with a wheel or wheel center member, which can be mounted on a vehicle.
Non-pneumatic tire identification code means an alphanumeric code that is assigned by the manufacturer to identify the tire with regard to its size, application to a specific non-pneumatic rim or wheel center member or application to a specific vehicle.
Test wheel center member means with reference to a tire to be tested, any wheel center member that is listed as appropriate for use with that tire in accordance with S4.4.
Tread means that portion of the tire that comes in contact with the road.
Tread separation means pulling away of the tread from the carcass.
Wheel means a mechanical device which consists of a non-pneumatic rim and wheel center member and which, in the case of a non-pneumatic tire assembly incorporating a wheel, provides the connection between the tire and the vehicle.

Wheel center member means, in the case of a non-pneumatic tire assembly incorporating a wheel, a mechanical device which attaches, either integrally or separably, to the non-pneumatic rim and provides the connection between the non-pneumatic rim and the vehicle; or in the case of a non-pneumatic tire assembly not incorporating a wheel, a mechanical device which attaches, either integrally or separably, to the non-pneumatic tire and provides the connection between the tire and the vehicle.

 
S4
Requirements.
 
S4.1
Size and Construction. Each tire shall be designed to fit each non-pneumatic rim or wheel center member specified for its non-pneumatic tire identification code designation in a listing in accordance with section S4.4.
 
S4.2
Performance Requirements
 
S4.2.1
General. Each tire shall conform to the following:
 
(a)
Its load rating shall be that specified in a submission made by a manufacturer, pursuant to S4.4(a), or in one of the publications described in S4.4(b) for its non-pneumatic tire identification code designation.
 
(b)
It shall incorporate a tread wear indicator that will provide a visual indication that the tire has worn to a tread depth of 1⁄16 inch.
 
(c)
It shall, before being subjected to either the endurance test procedure specified in S5.4 or the high speed performance procedure specified in S5.5, exhibit no visual evidence of tread or carcass separation, chunking or cracking.
 
(d)
It shall meet the requirements of S4.2.2.5 and S4.2.2.6 when tested on a test wheel described in S5.4.2.1 either alone or simultaneously with up to 5 tires.
 
S4.2.2
Test Requirements.
 
S4.2.2.1
Test Sample. For each test sample use:
 
(a)
One tire for physical dimensions, lateral strength, and strength in sequence;
 
(b)
A second tire for tire endurance; and
 
(c)
A third tire for high speed performance.
 
S4.2.2.2
Physical Dimensions. For a non-pneumatic tire assembly in which the tire is separable from the non-pneumatic rim or wheel center member, the dimensions, measured in accordance with S5.1, for that portion of the tire that attaches to that non-pneumatic rim or wheel center member shall satisfy the dimensional specifications contained in the submission made by an individual manufacturer, pursuant to S4.4(a), or in one of the publications described in S4.4(b) for that tire's non-pneumatic tire identification code designation.
 
S4.2.2.3
Lateral Strength. There shall be no visual evidence of tread or carcass separation, cracking or chunking, when a tire is tested in accordance with S5.2 to a load of:
 
(a)
1,500 pounds for tires with a load rating less than 880 pounds;
 
(b)
2,000 pounds for tires with a load rating of 880 pounds or more but less than 1,400 pounds.
 
(c)
2,500 pounds for tires with a load rating of 1,400 pounds or more, using the load rating marked on the tire or tire assembly.
 
S4.2.2.4
Tire Strength. There shall be no visual evidence of tread carcass separation, cracking or chunking, when a tire is tested in accordance with S5.3 to a minimum energy level of:
Load ratingMinimum energy level
Below 880 pounds1950 inch pounds.
880 pounds and above2600 inch pounds.
 
S4.2.2.5
Tire Endurance. When the tire has been subjected to the laboratory endurance test specified in S5.4, using, if applicable, a non-pneumatic test rim or test wheel center member that undergoes no permanent deformation, there shall be no visual evidence of tread or carcass separation, cracking or chunking. In the case of a non-pneumatic tire assembly in which the non-pneumatic tire is an integral part of the assembly, the assembly shall undergo no permanent deformation with the exception of wear of the tread.
 
S4.2.2.6
High Speed Performance. When the tire has been subjected to the laboratory high speed performance test specified in S5.5, using if applicable, a non-pneumatic test rim or test wheel center member that undergoes no permanent deformation, there shall be no visual evidence of tread or carcass separation, cracking or chunking. In the case of a non-pneumatic tire assembly in which the non-pneumatic tire is an integral part of the assembly, the assembly shall undergo no permanent deformation with the exception of wear of the tread.
 
S4.3
Labeling requirements. Each new non-pneumatic tire shall comply, according to the phase-in schedule specified in S7 of this standard, with the requirements of S5.5 and S5.5.1 of §571.139.
 
S4.4
Non-Pneumatic Tire Identification Code and Non-Pneumatic Rim/Wheel Center Member Matching Information. For purposes of this standard, S8 of 49 CFR 571.110 and S10 of 49 CFR 571.120, each manufacturer of a non-pneumatic tire that is not an integral part of a non-pneumatic tire assembly shall ensure that it provides a listing to the public for each non-pneumatic tire that it produces. The listing shall include the non-pneumatic tire identification code, tire load rating, dimensional specifications and a diagram of the portion of the tire that attaches to the non-pneumatic rim or wheel center member, and a list of the non-pneumatic rims or wheel center members that may be used with that tire. For each non-pneumatic rim or wheel center member included in such a listing, the information provided shall include a size and type designation for the non-pneumatic rim or wheel center member, and dimensional specifications and a diagram of the non-pneumatic rim or portion of the wheel center member that attaches to the tire. A listing compiled in accordance with paragraph (a) of this section need not include dimensional specifications or a diagram of the non-pneumatic rim or portion of the wheel center member that attaches to the tire if the non-pneumatic rim's or portion of the wheel center member's dimensional specifications and diagram are contained in each listing published in accordance with paragraph (b) of this section. The listing shall be in one of the following forms:
 
(a)
Listed by manufacturer name or brand name in a document furnished to dealers of the manufacturer's tires or, in the case of non-pneumatic tires supplied only as a temporary spare tire on a vehicle, in a document furnished to dealers of vehicles equipped with the tires, to any person upon request, and in duplicate to the Office of Vehicle Safety Standards, Crash Avoidance Division, National Highway Traffic Safety Administration, U.S. Department of Transportation, Washington, DC 20590; or
 
(b)
Contained in publications, current at the date of manufacture of the tire or any later date, of at least one of the following organizations:

The Tire and Rim Association

The European Tyre and Rim Technical Organization

Japan Automobile Tire Manufacturers' Association, Inc.

Deutche Industrie Norm

British Standards Institute

Scandinavian Tire and Rim Organization

Tyre and Rim Association of Australia

 
S5
. Test Procedures.
 
S5.1
Physical Dimensions. After conditioning the tire at room temperature for at least 24 hours, using equipment with minimum measurement capabilities of one-half the smallest tolerance specified in the listing contained in the submission made by a manufacturer pursuant to S4.4(a), or in one of the publications described in S4.4(b) for that tire's non-pneumatic tire identification code designation, measure the portion of the tire that attaches to the non-pneumatic rim or the wheel center member. For any inner diameter dimensional specifications, or other dimensional specifications that are uniform or uniformly spaced around some circumference of the tire, these measurements shall be taken at least six points around the tire, or, if specified, at the points specified in the listing contained in the submission made by an individual manufacturer, pursuant to S4.4(a), or in one of the publications described in S4.4(b) for that tire's non-pneumatic tire identification code designation.
 
S5.2
Lateral Strength.
 
S5.2.1
Preparation of the tire.
 
S5.2.1.1
If applicable, mount a new tire on a non-pneumatic test rim or test wheel center member.
 
S5.2.1.2
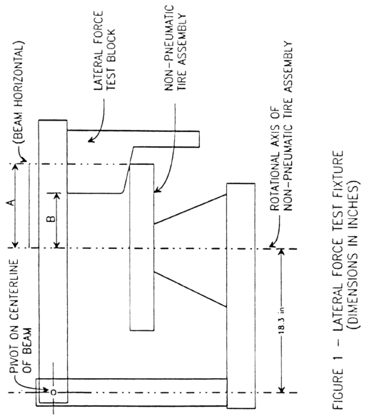
Mount the tire assembly in a fixture as shown in Figure 1 with the surface of the tire assembly that would face outward when mounted on a vehicle facing toward the lateral strength test block shown in Figure 2 and force the lateral strength test block against the tire.
 
S5.2.2
Test Procedure.
 
S5.2.2.1
Apply a load through the block to the tire at a rate of 2 inches per minute, with the load arm parallel to the tire assembly at the time of engagement and the first point of contact with the test block being the test block centerline shown in Figure 2, at the following distances, B, in sequence, as shown in Figure 1:

B=A — 1 inch

B=A — 2 inches

B=A — 3 inches

B=A — 4 inches

B=A — 5 inches, and

B=A — 6 inches.

However, if at any time during the conduct of the test, the test block comes in contact with the non-pneumatic test rim or test wheel center member, the test shall be suspended and no further testing at smaller values of the distance B shall be conducted. When tested to the above procedure, satisfying the requirements of S4.2.2.3 for all values of B greater than that for which contact between the non-pneumatic test rim or test wheel center member and the test block is made, shall constitute compliance to the requirements set forth in S4.2.2.3.

 
S5.3
Tire Strength.
 
S5.3.1
Preparation of the Tire.
 
S5.3.1.1
If applicable, mount the tire on a non-pneumatic test rim or test wheel center member.
 
S5.3.1.2
Condition the tire assembly at room temperature for at least three hours.
 
S5.3.2
Test Procedures.
 
S5.3.2.1
Force the test cleat, as defined in S5.3.2.2, with its length axis (see S5.3.2.2(a)) parallel to the rolling axis of the non-pneumatic tire assembly, and its height axis (see S5.3.2.2(c)), coinciding with a radius of the non-pneumatic tire assembly, into the tread of the tire at five test points equally spaced around the circumference of the tire. At each test point, the test cleat is forced into the tire at a rate of two inches per minute until the applicable minimum energy level, as shown in S4.2.2.4, calculated using the formula contained in S5.3.2.3, is reached.
 
S5.3.2.2
The test cleat is made of steel and has the following dimensions;
 
(a)
Minimum length of one inch greater than the maximum tire width of the tire,
 
(b)
Width of one-half inch with the surface which contacts the tire's tread having one-quarter inch radius, and
 
(c)
Minimum height of one inch greater than the difference between the unloaded radius of the non-pneumatic tire assembly and the maximum radius of the non-pneumatic rim or wheel center member, if used with the non-pneumatic tire assembly being tested.
 
S5.3.2.3
The energy level is calculated by the following formula:

where

E=Energy level, inch-pounds;

F=Force, pounds; and

P=Penetration, inches

 
S5.4
Tire Endurance.
 
S5.4.1
Preparation of the tire.
 
S5.4.1.1
If applicable, mount a new tire on a non-pneumatic test rim or test wheel center member.
 
S5.4.1.2
Condition the tire assembly to 100 ±5 °F. for at least three hours.
 
S5.4.2
Test Procedure.
 
S5.4.2.1
Mount the tire assembly on a test axle and press it against a flat-faced steel test wheel 67.23 inches in diameter and at least as wide as the maximum tire width of the tire to be tested or an approved equivalent test wheel, with the applicable test load specified in the table in S5.4.2.3 for the tire's non-pneumatic tire identification code designation.
 
S5.4.2.2
During the test, the air surrounding the test area shall be 100 ±5 °F.
 
S5.4.2.3
Conduct the test at 50 miles per hour (m.p.h.) in accordance with the following schedule without interruption: The loads for the following periods are the specified percentage of the load rating marked on the tire or tire assembly:

Percent

4 hours 85
86 hours 90
24 hours 100
 
S5.4.2.4
Immediately after running the tire the required time, allow the tire to cool for one hour, then, if applicable, detach it from the non-pneumatic test rim or test wheel center member, and inspect it for the conditions specified in S4.2.2.5.
 
S5.5
High Speed Endurance.
 
S5.5.1
After preparing the tire in accordance with S5.4.1, if applicable, mount the tire assembly in accordance with S5.4.2.1, and press it against the test wheel with a load of 88 percent of the tire's load rating as marked on the tire or tire assembly.
 
S5.5.2
Break in the tire by running it for 2 hours at 50 m.p.h.
 
S5.5.3
Allow to cool to 100 ±5 °F.
 
S5.5.4
Test at 75 m.p.h. for 30 minutes, 80 m.p.h. for 30 minutes and 85 m.p.h. for 30 minutes.
 
S5.5.5
Immediately after running the tire for the required time, allow the tire to cool for one hour, then, if applicable, detach it from the non-pneumatic test rim or test wheel center member, and inspect it for the conditions specified in S4.2.2.6.
 
S6
Nonconforming tires. Any non-pneumatic tire that is designed for use on passenger cars that does not conform to all the requirements of this standard, shall not be sold, offered for sale, introduced or delivered for introduction into interstate commerce, or imported into the United States, for any purpose.
 
S7
Phase-In Schedule for labeling requirements.
 
S7.1
Tires manufactured on or after September 1, 2005 and before September 1, 2006. For tires manufactured on or after September 1, 2005 and before September 1, 2006, the number of tires complying with S4.3 of this standard must be equal to not less than 40% of the manufacturer's production during that period.
 
S7.2
Tires manufactured on or after September 1, 2006 and before September 1, 2007. For tires manufactured on or after September 1, 2006 and before September 1, 2007, the number of tires complying with S4.3 of this standard must be equal to not less than 70% of the manufacturer's production during that period.
 
S7.3
Tires manufactured on or after September 1, 2007. Each tire must comply with S6.3 of this standard.

[55 FR 29590, July 20, 1990, as amended at 56 FR 19312, Apr. 26, 1991; 67 FR 69627, Nov. 18, 2002; 69 FR 31319, June 3, 2004]

   Reason: