Login required to View Regulations

Sign In or Register Now.  Registration is fast and free!

 
§571.121 — Standard No. 121; Air brake systems
 
S1.
Scope. This standard establishes performance and equipment requirements for braking systems on vehicles equipped with air brake systems.
 
S2.
Purpose. The purpose of this standard is to insure safe braking performance under normal and emergency conditions.
 
S3.
Application. This standard applies to trucks, buses, and trailers equipped with air brake systems. However, it does not apply to:
 
(a)
Any trailer that has a width of more than 102.36 inches with extendable equipment in the fully retracted position and is equipped with two short track axles in a line across the width of the trailer.
 
(b)
Any vehicle equipped with an axle that has a gross axle weight rating (GAWR) of 29,000 pounds or more;
 
(c)
Any truck or bus that has a speed attainable in 2 miles of not more than 33 mph;
 
(d)
Any truck that has a speed attainable in 2 miles of not more than 45 mph, an unloaded vehicle weight that is not less than 95 percent of its gross vehicle weight rating (GVWR), and no capacity to carry occupants other than the driver and operating crew;
 
(e)
Any trailer that has a GVWR of more than 120,000 pounds and whose body conforms to that described in the definition of heavy hauler trailer set forth in S4;
 
(f)
Any trailer that has an unloaded vehicle weight which is not less than 95 percent of its GVWR; and
 
(g)
Any load divider dolly.
 
S4.
Definitions.
 
Agricultural commodity trailer means a trailer that is designed to transport bulk agricultural commodities in off-road harvesting sites and to a processing plant or storage location, as evidenced by skeletal construction that accommodates harvest containers, a maximum length of 28 feet, and an arrangement of air control lines and reservoirs that minimizes damage in field operations.
 
Air brake system means a system that uses air as a medium for transmitting pressure or force from the driver control to the service brake, including an air-over-hydraulic brake subsystem, but does not include a system that uses compressed air or vacuum only to assist the driver in applying muscular force to hydraulic or mechanical components.
 
Air-over-hydraulic brake subsystem means a subsystem of the air brake system that uses compressed air to transmit a force from the driver control to a hydraulic brake system to actuate the service brakes.
 
Antilock brake system or ABS means a portion of a service brake system that automatically controls the degree of rotational wheel slip during braking by:
 
(1)
Sensing the rate of angular rotation of the wheels;
 
(2)
Transmitting signals regarding the rate of wheel angular rotation to one or more controlling devices which interpret those signals and generate responsive controlling output signals; and
 
(3)
Transmitting those controlling signals to one or more modulators which adjust brake actuating forces in response to those signals.
 
Auto transporter means a truck and a trailer designed for use in combination to transport motor vehicles, in that the towing vehicle is designed to carry cargo at a location other than the fifth wheel and to load this cargo only by means of the towed vehicle.
 
Common diaphragm means a single brake chamber diaphragm which is a component of the parking, emergency, and service brake systems.
 
Container chassis trailer means a semitrailer of skeleton construction limited to a bottom frame, one or more axles, specially built and fitted with locking devices for the transport of intermodal shipping containers, so that when the chassis and container are assembled, the units serve the same function as an over the road trailer.
 
Directly controlled wheel means a wheel for which the degree of rotational wheel slip is sensed, either at that wheel or on the axle shaft for that wheel and corresponding signals are transmitted to one or more modulators that adjust the brake actuating forces at that wheel. Each modulator may also adjust the brake actuating forces at other wheels that are on the same axle or in the same axle set in response to the same signal or signals.
 
Effective projected luminous lens area means that area of the projection on a plane perpendicular to the lamp axis of that portion of the light-emitting surface that directs light to the photometric test pattern, and does not include mounting hole bosses, reflex reflector area, beads or rims that may glow or produce small areas of increased intensity as a result of uncontrolled light from small areas (½ degree radius around the test point).
 
Full-treadle brake application means a brake application in which the treadle valve pressure in any of the valve's output circuits reaches 85 pounds per square inch (psi) within 0.2 seconds after the application is initiated, or in which maximum treadle travel is achieved within 0.2 seconds after the application is initiated.
 
Heavy hauler trailer means a trailer which has one or more of the following characteristics, but which is not a container chassis trailer:
 
(1)
Its brake lines are designed to adapt to separation or extension of the vehicle frame; or
 
(2)
Its body consists only of a platform whose primary cargo-carrying surface is not more than 40 inches above the ground in an unloaded condition, except that it may include sides that are designed to be easily removable and a permanent “front end structure” as that term is used in §393.106 of this title.
 
Independently controlled wheel means a directly controlled wheel for which the modulator does not adjust the brake actuating forces at any other wheel on the same axle.
 
Indirectly controlled wheel means a wheel at which the degree of rotational wheel slip is not sensed, but at which the modulator of an antilock braking system adjusts its brake actuating forces in response to signals from one or more sensed wheel(s).
 
Initial brake temperature means the average temperature of the service brakes on the hottest axle of the vehicle 0.2 mile before any brake application in the case of road tests, or 18 seconds before any brake application in the case of dynamometer testing.
 
Intermodal shipping container means a reusable, transportable enclosure that is especially designed with integral locking devices for securing the container to the trailer to facilitate the efficient and bulk shipping and transfer of goods by, or between various modes of transport, such as highway, rail, sea and air.
 
Load divider dolly means a trailer composed of a trailer chassis and one or more axles, with no solid bed, body, or container attached, and which is designed exclusively to support a portion of the load on a trailer or truck excluded from all the requirements of this standard.
 
Maximum drive-through speed means the highest possible constant speed at which the vehicle can be driven through 200 feet of a 500-foot radius curve arc without leaving the 12-foot lane.
 
Maximum treadle travel means the distance that the treadle moves from its position when no force is applied to its position when the treadle reaches a full stop.
 
Peak friction coefficient or PFC means the ratio of the maximum value of braking test wheel longitudinal force to the simultaneous vertical force occurring prior to wheel lockup, as the braking torque is progressively increased.
 
Pulpwood trailer means a trailer that is designed exclusively for harvesting logs or pulpwood and constructed with a skeletal frame with no means for attachment of a solid bed, body, or container, and with an arrangement of air control lines and reservoirs designed to minimize damage in off-road operations.
 
Tandem axle means a group or set of two or more axles placed in a close arrangement, one behind the other, with the centerlines of adjacent axles not more than 72 inches apart.
 
Straddle trailer means a trailer that is designed to transport bulk agricultural commodities from the harvesting location as evidenced by a framework that is driven over the cargo and lifting arms that suspend the cargo for transit.
 
Wheel lockup means 100 percent wheel slip.
 
S5.
Requirements. Each vehicle shall meet the following requirements under the conditions specified in S6. However, at the option of the manufacturer, the following vehicles may meet the stopping distance requirements specified in Table IIa instead of Table II: Three-axle tractors with a front axle that has a GAWR of 14,600 pounds or less, and with two rear drive axles that have a combined GAWR of 45,000 pounds or less, that are manufactured before August 1, 2011; and all other tractors that are manufactured before August 1, 2013.
 
S5.1
Required equipment for trucks and buses. Each truck and bus shall have the following equipment:
 
S5.1.1
Air compressor. An air compressor of sufficient capacity to increase air pressure in the supply and service reservoirs from 85 psi to 100 psi when the engine is operating at the vehicle manufacturer's maximum recommended r.p.m. within a time, in seconds, determined by the quotient (Actual reservoir capacity×25)/Required reservoir capacity.
 
S5.1.1.1
Air compressor cut-in pressure. The air compressor governor cut-in pressure for each bus shall be 85 p.s.i. or greater. The air compressor governor cut-in pressure for each truck shall be 100 p.s.i. or greater.
 
S5.1.2
Reservoirs. One or more service reservoir systems, from which air is delivered to the brake chambers, and either an automatic condensate drain valve for each service reservoir or a supply reservoir between the service reservoir system and the source of air pressure.
 
S5.1.2.1
The combined volume of all service reservoirs and supply reservoirs shall be at least 12 times the combined volume of all service brake chambers. For each brake chamber type having a full stroke at least as great as the first number in Column 1 of Table V, but no more than the second number in Column 1 of Table V, the volume of each brake chamber for purposes of calculating the required combined service and supply reservoir volume shall be either that specified in Column 2 of Table V or the actual volume of the brake chamber at maximum travel of the brake piston or pushrod, whichever is lower. The volume of a brake chamber not listed in Table V is the volume of the brake chamber at maximum travel of the brake piston or pushrod. The reservoirs of the truck portion of an auto transporter need not meet this requirement for reservoir volume.
 
S5.1.2.2
Each reservoir shall be capable of withstanding an internal hydrostatic pressure of five times the compressor cutout pressure or 500 psi, whichever is greater, for 10 minutes.
 
S5.1.2.3
Each service reservoir system shall be protected against loss of air pressure due to failure or leakage in the system between the service reservoir and the source of air pressure, by check valves or equivalent devices whose proper functioning can be checked without disconnecting any air line or fitting.
 
S5.1.2.4
Each reservoir shall have a condensate drain valve that can be manually operated.
 
S5.1.3
Towing vehicle protection system. If the vehicle is intended to tow another vehicle equipped with air brakes, a system to protect the air pressure in the towing vehicle from the effects of a loss of air pressure in the towed vehicle.
 
S5.1.4
Pressure gauge. A pressure gauge in each service brake system, readily visible to a person seated in the normal driving position, that indicates the service reservoir system air pressure. The accuracy of the gauge shall be within plus or minus 7 percent of the compressor cut-out pressure.
 
S5.1.5
Warning signal. A signal, other than a pressure gauge, that gives a continuous warning to a person in the normal driving position when the ignition is in the “on” (“run”) position and the air pressure in the service reservoir system is below 60 psi. The signal shall be either visible within the driver's forward field of view, or both audible and visible.
 
S5.1.6
Antilock brake system.
 
S5.1.6.1
 
(a)
Each single-unit vehicle manufactured on or after March 1, 1998, shall be equipped with an antilock brake system that directly controls the wheels of at least one front axle and the wheels of at least one rear axle of the vehicle. Wheels on other axles of the vehicle may be indirectly controlled by the antilock brake system.
 
(b)
Each truck tractor manufactured on or after March 1, 1997, shall be equipped with an antilock brake system that directly controls the wheels of at least one front axle and the wheels of at least one rear axle of the vehicle, with the wheels of at least one axle being independently controlled. Wheels on other axles of the vehicle may be indirectly controlled by the antilock brake system. A truck tractor shall have no more than three wheels controlled by one modulator.
 
S5.1.6.2
Antilock malfunction signal and circuit.
 
(a)
Each truck tractor manufactured on or after March 1, 1997, and each single unit vehicle manufactured on or after March 1, 1998, shall be equipped with an indicator lamp, mounted in front of and in clear view of the driver, which is activated whenever there is a malfunction that affects the generation or transmission of response or control signals in the vehicle's antilock brake system. The indicator lamp shall remain activated as long as such a malfunction exists, whenever the ignition (start) switch is in the “on” (“run”) position, whether or not the engine is running. Each message about the existence of such a malfunction shall be stored in the antilock brake system after the ignition switch is turned to the “off” position and automatically reactivated when the ignition switch is again turned to the “on” (“run”) position. The indicator lamp shall also be activated as a check of lamp function whenever the ignition is turned to the “on” (“run”) position. The indicator lamp shall be deactivated at the end of the check of lamp function unless there is a malfunction or a message about a malfunction that existed when the key switch was last turned to the “off” position.
 
(b)
Each truck tractor manufactured on or after March 1, 2001, and each single unit vehicle manufactured on or after March 1, 2001, that is equipped to tow another air-braked vehicle, shall be equipped with an electrical circuit that is capable of transmitting a malfunction signal from the antilock brake system(s) on one or more towed vehicle(s) (e.g., trailer(s) and dolly(ies)) to the trailer ABS malfunction lamp in the cab of the towing vehicle, and shall have the means for connection of this electrical circuit to the towed vehicle. Each such truck tractor and single unit vehicle shall also be equipped with an indicator lamp, separate from the lamp required in S5.1.6.2(a), mounted in front of and in clear view of the driver, which is activated whenever the malfunction signal circuit described above receives a signal indicating an ABS malfunction on one or more towed vehicle(s). The indicator lamp shall remain activated as long as an ABS malfunction signal from one or more towed vehicle(s) is present, whenever the ignition (start) switch is in the “on” (“run”) position, whether or not the engine is running. The indicator lamp shall also be activated as a check of lamp function whenever the ignition is turned to the “on” (“run”) position. The indicator lamp shall be deactivated at the end of the check of lamp function unless a trailer ABS malfunction signal is present.
 
(c)
[Reserved]
 
S5.1.6.3
Antilock power circuit for towed vehicles. Each truck tractor manufactured on or after March 1, 1997, and each single unit vehicle manufactured on or after March 1, 1998, that is equipped to tow another air-braked vehicle shall be equipped with one or more electrical circuits that provide continuous power to the antilock system on the towed vehicle or vehicles whenever the ignition (start) switch is in the “on” (“run”) position. Such a circuit shall be adequate to enable the antilock system on each towed vehicle to be fully operable.
 
S5.1.7
Service brake stop lamp switch. A switch that lights the stop lamps when the service brake control is statically depressed to a point that produces a pressure of 6 psi or less in the service brake chambers.
 
S5.1.8
Brake distribution and automatic adjustment. Each vehicle shall be equipped with a service brake system acting on all wheels.
 
(a)
Brake adjuster. Wear of the service brakes shall be compensated for by means of a system of automatic adjustment. When inspected pursuant to S5.9, the adjustment of the service brakes shall be within the limits recommended by the vehicle manufacturer.
 
(b)
Brake indicator. For each brake equipped with an external automatic adjustment mechanism and having an exposed pushrod, the condition of service brake under-adjustment shall be displayed by a brake adjustment indicator that is discernible when viewed with 20/40 vision from a location adjacent to or underneath the vehicle, when inspected pursuant to S5.9.
 
S5.2
Required equipment for trailers. Each trailer shall have the following equipment:
 
S5.2.1
Reservoirs. One or more reservoirs to which the air is delivered from the towing vehicle.
 
S5.2.1.1
The total volume of each service reservoir shall be at least eight times the combined volume of all service brake chambers serviced by that reservoir. For each brake chamber type having a full stroke at least as great as the first number in Column 1 of Table V, but no more than the second number in column 1, the volume of each brake chamber for purposes of calculating the required total service reservoir volume shall be either the number specified in Column 2 of Table V or the actual volume of the brake chamber at maximum travel of the brake piston or pushrod, whichever is lower. The volume of a brake chamber not listed in Table V is the volume of the brake chamber at maximum travel of the brake piston or pushrod. The reservoirs on a heavy hauler trailer and the trailer portion of an auto transporter need not meet this requirement for reservoir volume.
 
S5.2.1.2
Each reservoir shall be capable of withstanding an internal hydrostatic pressure of 500 psi for 10 minutes.
 
S5.2.1.3
Each reservoir shall have a condensate drain valve that can be manually operated.
 
S5.2.1.4
Each service reservoir shall be protected against loss of air pressure due to failure or leakage in the system between the service reservoir and its source of air pressure by check valves or equivalent devices.
 
S5.2.2
Brake distribution and automatic adjustment. Each vehicle shall be equipped with a service brake system acting on all wheels.
 
(a)
Brake adjuster. Wear of the service brakes shall be compensated for by means of a system of automatic adjustment. When inspected pursuant to S5.9, the adjustment of the service brakes shall be within the limits recommended by the vehicle manufacturer.
 
(b)
Brake indicator. For each brake equipped with an external automatic adjustment mechanism and having an exposed pushrod, the condition of service brake under-adjustment shall be displayed by a brake adjustment indicator in a manner that is discernible when viewed with 20/40 vision from a location adjacent to or underneath the vehicle, when inspected pursuant to S5.9.
 
S5.2.3
Antilock brake system.
 
S5.2.3.1
 
(a)
Each semitrailer (including a trailer converter dolly) manufactured on or after March 1, 1998, shall be equipped with an antilock brake system that directly controls the wheels of at least one axle of the vehicle. Wheels on other axles of the vehicle may be indirectly controlled by the antilock brake system.
 
(b)
Each full trailer manufactured on or after March 1, 1998, shall be equipped with an antilock brake system that directly controls the wheels of at least one front axle of the vehicle and at least one rear axle of the vehicle. Wheels on other axles of the vehicle may be indirectly controlled by the antilock brake system.
 
S5.2.3.2
Antilock malfunction signal. Each trailer (including a trailer converter dolly) manufactured on or after March 1, 2001, that is equipped with an antilock brake system shall be equipped with an electrical circuit that is capable of signaling a malfunction in the trailer's antilock brake system, and shall have the means for connection of this antilock brake system malfunction signal circuit to the towing vehicle. The electrical circuit need not be separate or dedicated exclusively to this malfunction signaling function. The signal shall be present whenever there is a malfunction that affects the generation or transmission of response or control signals in the trailer's antilock brake system. The signal shall remain present as long as the malfunction exists, whenever power is supplied to the antilock brake system. Each message about the existence of such a malfunction shall be stored in the antilock brake system whenever power is no longer supplied to the system, and the malfunction signal shall be automatically reactivated whenever power is again supplied to the trailer's antilock brake system. In addition, each trailer manufactured on or after March 1, 2001, that is designed to tow other air-brake equipped trailers shall be capable of transmitting a malfunction signal from the antilock brake systems of additional trailers it tows to the vehicle towing it.
 
S5.2.3.3
Antilock malfunction indicator.
 
(a)
In addition to the requirements of S5.2.3.2, each trailer and trailer converter dolly shall be equipped with an external antilock malfunction indicator lamp that meets the requirements of S5.2.3.3 (b) through (d).
 
(b)
 
[1]
The lamp shall be designed to conform to the performance requirements of SAE Recommended Practice J592 JUN92 (incorporated by reference, see §571.5), or SAE Recommended Practice J592e (1972) (incorporated by reference, see §571.5), for combination, clearance, and side marker lamps, which are marked with a “PC” or “P2” on the lens or housing, in accordance with SAE Recommended Practice J759 JAN95 (incorporated by reference, see §571.5).
 
[2]
The color of the lamp shall be yellow.
 
[3]
The letters “ABS” shall be permanently molded, stamped, or otherwise marked or labeled in letters not less than 10 mm (0.4 inches) high on the lamp lens or its housing to identify the function of the lamp. Alternatively, the letters “ABS” may be painted on the trailer body or dolly or a plaque with the letters “ABS” may be affixed to the trailer body or converter dolly; the letters “ABS” shall be not less than 25 mm (1 inch) high. A portion of one of the letters in the alternative identification shall be not more than 150 mm (5.9 inches) from the edge of the lamp lens.
 
(c)
Location requirements.
 
[1]
Each trailer that is not a trailer converter dolly shall be equipped with a lamp mounted on a permanent structure on the left side of the trailer as viewed from the rear, no closer than 150 mm (5.9 inches), and no farther than 600 mm (23.6 inches) from the red rear side marker lamp, when measured between the closest edge of the effective projected luminous lens area of each lamp.
 
[2]
Each trailer converter dolly shall be equipped with a lamp mounted on a permanent structure of the dolly so that the lamp is not less than 375 mm (14.8 inches) above the road surface when measured from the center of the lamp with the dolly at curb weight. When a person, standing 3 meters (9.8 feet) from the lamp, views the lamp from a perspective perpendicular to the vehicle's centerline, no portion of the lamp shall be obscured by any structure on the dolly.
 
[3]
Each trailer that is not a trailer converter dolly and on which the malfunction indicator lamp cannot be placed within the location specified in S5.2.3.3(c)(1) shall be equipped with a lamp mounted on a permanent structure on the left side of the trailer as viewed from the rear, near the red rear side marker lamp or on the front face of the left rear fender of a trailer equipped with fenders.
 
(d)
The lamp shall be illuminated whenever power is supplied to the antilock brake system and there is a malfunction that affects the generation or transmission of response or control signals in the trailer's antilock brake system. The lamp shall remain illuminated as long as such a malfunction exists and power is supplied to the antilock brake system. Each message about the existence of such a malfunction shall be stored in the antilock brake system whenever power is no longer supplied to the system. The lamp shall be automatically reactivated when power is again supplied to the trailer's antilock brake system. The lamp shall also be activated as a check of lamp function whenever power is first supplied to the antilock brake system and the vehicle is stationary. The lamp shall be deactivated at the end of the check of lamp function, unless there is a malfunction or a message about a malfunction that existed when power was last supplied to the antilock brake system.
 
S5.3
Service brakes — road tests. The service brake system on each truck tractor shall, under the conditions of S6, meet the requirements of S5.3.1, S5.3.3, S5.3.4, and S5.3.6, when tested without adjustments other than those specified in this standard. The service brake system on each bus and truck (other than a truck tractor shall) manufactured before July 1, 2005 and each bus and truck (other than a truck tractor) manufactured in two or more stages shall, under the conditions of S6, meet the requirements of S5.3.1, S5.3.3, and S5.3.4 when tested without adjustments other than those specified in this standard. The service brake system on each bus and truck (other than a truck tractor) manufactured on or after July 1, 2005 and each bus and truck (other than a truck tractor) manufactured in two or more stages on or after July 1, 2006 shall, under the conditions of S6, meet the requirements of S5.3.1, S5.3.3, S5.3.4, and S5.3.6, when tested without adjustments other than those specified in this standard. The service brake system on each trailer shall, under the conditions of S6, meet the requirements of S5.3.3, S5.3.4, and S5.3.5 when tested without adjustments other than those specified in this standard. However, a heavy hauler trailer and the truck and trailer portions of an auto transporter need not met the requirements of S5.3.
 
S5.3.1
Stopping distance — trucks and buses. When stopped six times for each combination of vehicle type, weight, and speed specified in S5.3.1.1, in the sequence specified in Table I, each truck tractor manufactured on or after March 1, 1997, and each single unit vehicle manufactured on or after March 1, 1998, shall stop at least once in not more than the distance specified in Table II, measured from the point at which movement of the service brake control begins, without any part of the vehicle leaving the roadway, and with wheel lockup permitted only as follows:
 
(a)
At vehicle speeds above 20 mph, any wheel on a nonsteerable axle other than the two rearmost nonliftable, nonsteerable axles may lock up, for any duration. The wheels on the two rearmost nonliftable, nonsteerable axles may lock up according to S5.3.1(b).
 
(b)
At vehicle speeds above 20 mph, one wheel on any axle or two wheels on any tandem may lock up for any duration.
 
(c)
At vehicle speeds above 20 mph, any wheel not permitted to lock in S5.3.1 (a) or (b) may lock up repeatedly, with each lockup occurring for a duration of one second or less.
 
(d)
At vehicle speeds of 20 mph or less, any wheel may lock up for any duration.
 
S5.3.1.1
Stop the vehicle from 60 mph on a surface with a peak friction coefficient of 0.9 with the vehicle loaded as follows:
 
(a)
Loaded to its GVWR so that the load on each axle, measured at the tire-ground interface, is most nearly proportional to the axles' respective GAWRs, without exceeding the GAWR of any axle.
 
(b)
In the truck tractor only configuration plus up to 500 lbs. or, at the manufacturer's option, at its unloaded weight plus up to 500 lbs. (including driver and instrumentation) and plus not more than an additional 1,000 lbs. for a roll bar structure on the vehicle, and
 
(c)
At its unloaded vehicle weight (except for truck tractors) plus up to 500 lbs. (including driver and instrumentation) or, at the manufacturer's option, at its unloaded weight plus up to 500 lbs. (including driver and instrumentation) plus not more than an additional 1,000 lbs. for a roll bar structure on the vehicle. If the speed attainable in two miles is less than 60 mph, the vehicle shall stop from a speed in Table II that is four to eight mph less than the speed attainable in two miles.
 
S5.3.2
[Reserved]
 
S5.3.3
Brake actuation time. Each service brake system shall meet the requirements of S5.3.3.1 (a) and (b).
 
S5.3.3.1
 
(a)
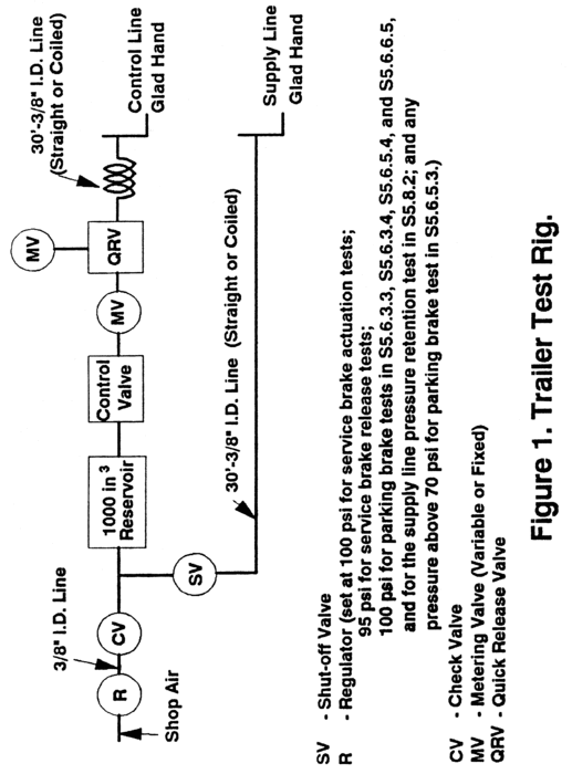
With an initial service reservoir system air pressure of 100 psi, the air pressure in each brake chamber shall, when measured from the first movement of the service brake control, reach 60 psi in not more than 0.45 second in the case of trucks and buses, 0.50 second in the case of trailers, other than trailer converter dollies, designed to tow another vehicle equipped with air brakes, 0.55 second in the case of trailer converter dollies, and 0.60 second in the case of trailers other than trailers designed to tow another vehicle equipped with air brakes. A vehicle designed to tow another vehicle equipped with air brakes shall meet the above actuation time requirement with a 50-cubic-inch test reservoir connected to the control line output coupling. A trailer, including a trailer converter dolly, shall meet the above actuation time requirement with its control line input coupling connected to the test rig shown in Figure 1.
 
(b)
For a vehicle that is designed to tow another vehicle equipped with air brakes, the pressure in the 50-cubic-inch test reservoir referred to in S5.3.3.1(a) shall, when measured from the first movement of the service brake control, reach 60 psi not later than the time the fastest brake chamber on the vehicle reaches 60 psi or, at the option of the manufacturer, in not more than 0.35 second in the case of trucks and buses, 0.55 second in the case of trailer converter dollies, and 0.50 second in the case of trailers other than trailer converter dollies.
 
S5.3.4
Brake release time. Each service brake system shall meet the requirements of S5.3.4.1 (a) and (b).
 
S5.3.4.1
 
(a)
With an initial service brake chamber air pressure of 95 psi, the air pressure in each brake chamber shall, when measured from the first movement of the service brake control, fall to 5 psi in not more than 0.55 second in the case of trucks and buses; 1.00 second in the case of trailers, other than trailer converter dollies, designed to tow another vehicle equipped with air brakes; 1.10 seconds in the case of trailer converter dollies; and 1.20 seconds in the case of trailers other than trailers designed to tow another vehicle equipped with air brakes. A vehicle designated to tow another vehicle equipped with air brakes shall meet the above release time requirement with a 50-cubic-inch test reservoir connected to the control line output coupling. A trailer, including a trailer converter dolly, shall meet the above release time requirement with its control line input coupling connected to the test rig shown in Figure 1.
 
(b)
For vehicles designed to tow another vehicle equipped with air brakes, the pressure in the 50-cubic-inch test reservoir referred to in S5.3.4.1(a) shall, when measured from the first movement of the service brake control, fall to 5 psi in not more than 0.75 seconds in the case of trucks and buses, 1.10 seconds in the case of trailer converter dollies, and 1.00 seconds in the case of trailers other than trailer converter dollies.
 
S5.3.5
Control signal pressure differential — converter dollies and trailers designed to tow another vehicle equipped with air brakes.
 
(a)
For a trailer designed to tow another vehicle equipped with air brakes, the pressure differential between the control line input coupling and a 50-cubic-inch test reservoir attached to the control line output coupling shall not exceed the values specified in S5.3.5(a) (1), (2), and (3) under the conditions specified in S5.3.5(b) (1) through (4):
 
[1]
1 psi at all input pressures equal to or greater than 5 psi, but not greater than 20 psi;
 
[2]
2 psi at all input pressures equal to or greater than 20 psi but not greater than 40 psi; and
 
[3]
Not more than a 5-percent differential at any input pressure equal to or greater than 40 psi.
 
(b)
The requirements in S5.3.5(a) shall be met —
 
[1]
When the pressure at the input coupling is steady, increasing or decreasing;
 
[2]
When air is applied to or released from the control line input coupling using the trailer test rig shown in Figure 1;
 
[3]
With a fixed orifice consisting of a 0.0180 inch diameter hole (no. 77 drill bit) in a 0.032 inch thick disc installed in the control line between the trailer test rig coupling and the vehicle's control line input coupling; and
 
[4]
Operating the trailer test rig in the same manner and under the same conditions as it is operated during testing to measure brake actuation and release times, as specified in S5.3.3 and S5.3.4, except for the installation of the orifice in the control line to restrict airflow rate.
 
S5.3.6
Stability and control during braking — trucks and buses. When stopped four consecutive times for each combination of weight, speed, and road conditions specified in S5.3.6.1 and S5.3.6.2, each truck tractor shall stop at least three times within the 12-foot lane, without any part of the vehicle leaving the roadway. When stopped four consecutive times for each combination of weight, speed, and road conditions specified in S5.3.6.1 and S5.3.6.2, each bus and truck (other than a truck tractor) manufactured on or after July 1, 2005, and each bus and truck (other than a truck tractor) manufactured in two or more stages on or after July 1, 2006, shall stop at least three times within the 12-foot lane, without any part of the vehicle leaving the roadway.
 
S5.3.6.1
Using a full-treadle brake application for the duration of the stop, stop the vehicle from 30 mph or 75 percent of the maximum drive-through speed, whichever is less, on a 500-foot radius curved roadway with a wet level surface having a peak friction coefficient of 0.5 when measured on a straight or curved section of the curved roadway using an ASTM E1136-93 (Reapproved 2003) (incorporated by reference, see §571.5) standard reference tire, in accordance with ASTM E1337-90 (Reapproved 2008) (incorporated by reference, see §571.5), at a speed of 40 mph, with water delivery.
 
S5.3.6.2
Stop the vehicle, with the vehicle:
 
(a)
Loaded to its GVWR, for a truck tractor, and
 
(b)
At its unloaded weight plus up to 500 pounds (including driver and instrumentation), or at the manufacturer's option, at its unloaded weight plus up to 500 pounds (including driver and instrumentation) and plus not more than an additional 1000 pounds for a roll bar structure on the vehicle, for a truck, bus, or truck tractor.
 
S5.4
Service brake system — dynamometer tests. When tested without prior road testing, under the conditions of S6.2, each brake assembly shall meet the requirements of S5.4.1, S5.4.2, and S5.4.3 when tested in sequence and without adjustments other than those specified in the standard. For purposes of the requirements of S5.4.2 and S5.4.3, an average deceleration rate is the change in velocity divided by the deceleration time measured from the onset of deceleration.
 
S5.4.1
Brake retardation force. The sum of the retardation forces exerted by the brakes on each vehicle designed to be towed by another vehicle equipped with air brakes shall be such that the quotient sum of the brake retardation forces / sum of GAWR's relative to brake chamber air pressure, and shall have values not less than those shown in Column 1 of Table III. Retardation force shall be determined as follows:
 
S5.4.1.1
After burnishing the brake pursuant to S6.2.6, retain the brake assembly on the inertia dynamometer. With an initial brake temperature between 125 °F. and 200 °F., conduct a stop from 50 m.p.h., maintaining brake chamber air pressure at a constant 20 psi. Measure the average torque exerted by the brake from the time the specified air pressure is reached until the brake stops and divide by the static loaded tire radius specified by the tire manufacturer to determine the retardation force. Repeat the procedure six times, increasing the brake chamber air pressure by 10 psi each time. After each stop, rotate the brake drum or disc until the temperature of the brake falls to between 125 °F. and 200 °F.
 
S5.4.2
Brake power. When mounted on an inertia dynamometer, each brake shall be capable of making 10 consecutive decelerations at an average rate of 9 f.p.s.p.s. from 50 m.p.h. to 15 m.p.h., at equal intervals of 72 seconds, and shall be capable of decelerating to a stop from 20 m.p.h. at an average deceleration rate of 14 f.p.s.p.s. 1 minute after the 10th deceleration. The series of decelerations shall be conducted as follows:
 
S5.4.2.1
With an initial brake temperature between 150 °F. and 200 °F. for the first brake application, and the drum or disc rotating at a speed equivalent to 50 m.p.h., apply the brake and decelerate at an average deceleration rate of 9 f.p.s.p.s. to 15 m.p.h. Upon reaching 15 m.p.h., accelerate to 50 m.p.h. and apply the brake for a second time 72 seconds after the start of the first application. Repeat the cycle until 10 decelerations have been made. The service line air pressure shall not exceed 100 psi during any deceleration.
 
S5.4.2.2
One minute after the end of the last deceleration required by S5.4.2.1 and with the drum or disc rotating at a speed of 20 m.p.h., decelerate to a stop at an average deceleration rate of 14 f.p.s.p.s.
 
S5.4.3
Brake recovery. Except as provided in S5.4.3(a) and (b), starting two minutes after completing the tests required by S5.4.2, a vehicle's brake shall be capable of making 20 consecutive stops from 30 mph at an average deceleration rate of 12 f.p.s.p.s., at equal intervals of one minute measured from the start of each brake application. The service line air pressure needed to attain a rate of 12 f.p.s.p.s. shall be not more than 85 lb/in², and not less than 20lb/in² for a brake not subject to the control of an antilock system, or 12 lb/in² for a brake subject to the control of an antilock system.
 
(a)
Notwithstanding S5.4.3, neither front axle brake of a truck-tractor is subject to the requirements set forth in S5.4.3.
 
(b)
Notwithstanding S5.4.3, neither front axle brake of a bus or a truck other than a truck-tractor is subject to the requirement set forth in S5.4.3 prohibiting the service line air pressure from being less than 20 lb/in² for a brake not subject to the control of an antilock system or 12 lb/in² for a brake subject to the control of an antilock system.
 
S5.5
Antilock system.
 
S5.5.1
Antilock system malfunction. On a truck tractor manufactured on or after March 1, 1997, that is equipped with an antilock brake system and a single unit vehicle manufactured on or after March 1, 1998, that is equipped with an antilock brake system, a malfunction that affects the generation or transmission of response or control signals of any part of the antilock system shall not increase the actuation and release times of the service brakes.
 
S5.5.2
Antilock system power — trailers. On a trailer (including a trailer converter dolly) manufactured on or after March 1, 1998, that is equipped with an antilock system that requires electrical power for operation, the power shall be obtained from the towing vehicle through one or more electrical circuits which provide continuous power whenever the powered vehicle's ignition (start) switch is in the “on” (“run”) position. The antilock system shall automatically receive power from the stoplamp circuit, if the primary circuit or circuits are not functioning. Each trailer (including a trailer converter dolly) manufactured on or after March 1, 1998, that is equipped to tow another air-braked vehicle shall be equipped with one or more circuits which provide continuous power to the antilock system on the vehicle(s) it tows. Such circuits shall be adequate to enable the antilock system on each towed vehicle to be fully operable.
 
S5.6
Parking brakes.
 
(a)
Except as provided in S5.6(b) and S5.6(c), each vehicle other than a trailer converter dolly shall have a parking brake system that under the conditions of S6.1 meets the requirements of:
 
(1)
S5.6.1 or S5.6.2, at the manufacturer's option, and
 
(2)
S5.6.3, S5.6.4, S5.6.5, and S5.6.6.
 
(b)
At the option of the manufacturer, for vehicles equipped with brake systems which incorporate a common diaphragm, the performance requirements specified in S5.6(a) which must be met with any single leakage-type failure in a common diaphragm may instead be met with the level of leakage-type failure determined in S5.6.7. The election of this option does not affect the performance requirements specified in S5.6(a) which apply with single leakage-type failures other than failures in a common diaphragm.
 
(c)
At the option of the manufacturer, the trailer portion of any agricultural commodity trailer, heavy hauler trailer, or pulpwood trailer may meet the requirements of §393.43 of this title instead of the requirements of S5.6(a).
 
S5.6.1
Static retardation force. With all other brakes made inoperative, during a static drawbar pull in a forward or rearward direction, the static retardation force produced by the application of the parking brakes shall be:
 
(a)
In the case of a vehicle other than a truck-tractor that is equipped with more than two axles, such that the quotient static retardation force/GAWR is not less than 0.28 for any axle other than a steerable front axle; and
 
(b)
In the case of a truck-tractor that is equipped with more than two axles, such that the quotient static retardation force/GVWR is not less than 0.14.
 
S5.6.2
Grade holding. With all parking brakes applied, the vehicle shall remain stationary facing uphill and facing downhill on a smooth, dry portland cement concrete roadway with a 20-percent grade, both
 
(a)
When loaded to its GVWR, and
 
(b)
At its unloaded vehicle weight plus 1500 pounds (including driver and instrumentation and roll bar).
 
S5.6.3
Application and holding. Each parking brake system shall meet the requirements of S5.6.3.1 through S5.6.3.4.
 
S5.6.3.1
The parking brake system shall be capable of achieving the minimum performance specified either in S5.6.1 or S5.6.2 with any single leakage-type failure, in any other brake system, of a part designed to contain compressed air or brake fluid (excluding failure of a component of a brake chamber housing but including failure of any brake chamber diaphragm that is part of any other brake system including a diaphragm which is common to the parking brake system and any other brake system), when the pressures in the vehicle's parking brake chambers are at the levels determined in S5.6.3.4.
 
S5.6.3.2
A mechanical means shall be provided that, after a parking brake application is made with the pressures in the vehicle's parking brake chambers at the levels determined in S5.6.3.4, and all air and fluid pressures in the vehicle's braking systems are then bled down to zero, and without using electrical power, holds the parking brake application with sufficient parking retardation force to meet the minimum performance specified in S5.6.3.1 and in either S5.6.1 or S5.6.2.
 
S5.6.3.3
For trucks and buses, with an initial reservoir system pressure of 100 psi and, if designed to tow a vehicle equipped with air brakes, with a 50 cubic inch test reservoir connected to the supply line coupling, no later than three seconds from the time of actuation of the parking brake control, the mechanical means referred to in S5.6.3.2 shall be actuated. For trailers, with the supply line initially pressurized to 100 psi using the supply line portion of the trailer test rig (Figure 1) and, if designed to tow a vehicle equipped with air brakes, with a 50 cubic inch test reservoir connected to the rear supply line coupling, no later than three seconds from the time venting to the atmosphere of the front supply line coupling is initiated, the mechanical means referred to in S5.6.3.2 shall be actuated. This requirement shall be met for trucks, buses and trailers both with and without any single leakage-type failure, in any other brake system, of a part designed to contain compressed air or brake fluid (consistent with the parenthetical phrase specified in S5.6.3.1).
 
S5.6.3.4
The parking brake chamber pressures for S5.6.3.1 and S5.6.3.2 are determined as follows. For trucks and buses, with an initial reservoir system pressure of 100 psi and, if designed to tow a vehicle equipped with air brakes, with a 50 cubic inch test reservoir connected to the supply line coupling, any single leakage type failure, in any other brake system, of a part designed to contain compressed air or brake fluid (consistent with the parenthetical phrase specified in S5.6.3.1), is introduced in the brake system. The parking brake control is actuated and the pressures in the vehicle's parking brake chambers are measured three seconds after that actuation is initiated. For trailers, with the supply line initially pressurized to 100 psi using the supply line portion of the trailer test rig (Figure 1) and, if designed to tow a vehicle equipped with air brakes, with a 50 cubic inch test reservoir connected to the rear supply line coupling, any single leakage type failure, in any other brake system, of a part designed to contain compressed air or brake fluid (consistent with the parenthetical phrase specified in S5.6.3.1), is introduced in the brake system. The front supply line coupling is vented to the atmosphere and the pressures in the vehicle's parking brake chambers are measured three seconds after that venting is initiated.
 
S5.6.4
Parking brake control — trucks and buses. The parking brake control shall be separate from the service brake control. It shall be operable by a person seated in the normal driving position. The control shall be identified in a manner that specifies the method of control operation. The parking brake control shall control the parking brakes of the vehicle and of any air braked vehicle that it is designed to tow.
 
S5.6.5
Release Performance. Each parking brake system shall meet the requirements specified in S5.6.5.1 through S5.6.5.4.
 
S5.6.5.1
For trucks and buses, with initial conditions as specified in S5.6.5.2, at all times after an application actuation of the parking brake control, and with any subsequent level of pressure, or combination of levels of pressure, in the reservoirs of any of the vehicle's brake systems, no reduction in parking brake retardation force shall result from a release actuation of the parking brake control unless the parking brakes are capable, after such release, of being reapplied at a level meeting the minimum performance specified either in S5.6.1 or S5.6.2. This requirement shall be met both with and without the engine on, and with and without single leakage-type failure, in any other brake system, of a part designed to contain compressed air or brake fluid (consistent with the parenthetical phrase specified in S5.6.3.1).
 
S5.6.5.2
The initial conditions for S5.6.5.1 are as follows: The reservoir system pressure is 100 psi. If the vehicle is designed to tow a vehicle equipped with air brakes, a 50 cubic inch test reservoir is connected to the supply line coupling.
 
S5.6.5.3
For trailers, with initial conditions as specified in S5.6.5.4, at all times after actuation of the parking brakes by venting the front supply line coupling to the atmosphere, and with any subsequent level of pressure, or combination of levels of pressure, in the reservoirs of any of the vehicle's brake systems, the parking brakes shall not be releasable by repressurizing the supply line using the supply line portion of the trailer test rig (Figure 1) to any pressure above 70 psi, unless the parking brakes are capable, after such release, of reapplication by subsequent venting of the front supply line coupling to the atmosphere, at a level meeting the minimum performance specified either in S5.6.1 or S5.6.2. This requirement shall be met both with and without any single leakage-type failure, in any other brake system, of a part designed to contain compressed air or brake fluid (consistent with the parenthetical phrase specified in S5.6.3.1).
 
S5.6.5.4
The initial conditions for S5.6.5.3 are as follows: The reservoir system and supply line are pressurized to 100 psi, using the supply line portion of the trailer test rig (Figure 1). If the vehicle is designed to tow a vehicle equipped with air brakes, a 50 cubic inch test reservoir is connected to the rear supply line coupling.
 
S5.6.6
Accumulation of actuation energy. Each parking brake system shall meet the requirements specified in S5.6.6.1 through S5.6.6.6.
 
S5.6.6.1
For trucks and buses, with initial conditions as specified in S5.6.6.2, the parking brake system shall be capable of meeting the minimum performance specified either in S5.6.1 or S5.6.2, with any single leakage-type failure, in any other brake system, of a part designed to contain compressed air or brake fluid (consistent with the parenthetical phrase specified in S5.6.3.1) at the conclusion of the test sequence specified in S5.6.6.3.
 
S5.6.6.2
The initial conditions for S5.6.6.1 are as follows: The engine is on. The reservoir system pressure is 100 psi. If the vehicle is designed to tow a vehicle equipped with air brakes, a 50 cubic inch test reservoir is connected to the supply line coupling.
 
S5.6.6.3
The test sequence for S5.6.6.1 is as follows: The engine is turned off. Any single leakage type failure, in any other brake system, of a part designed to contain compressed air or brake fluid (consistent with the parenthetical phrase specified in S5.6.3.1), is then introduced in the brake system. An application actuation of the parking brake control is then made. Thirty seconds after such actuation, a release actuation of the parking brake control is made. Thirty seconds after the release actuation, a final application actuation of the parking brake control is made.
 
S5.6.6.4
For trailers, with initial conditions as specified in S5.6.6.5, the parking brake system shall be capable of meeting the minimum performance specified either in S5.6.1 or S5.6.2, with any single leakage-type failure, in any other brake system, of a part designed to contain compressed air or brake fluid (consistent with the parenthetical phrase specified in S5.6.3.1), at the conclusion of the test sequence specified in S5.6.6.6.
 
S5.6.6.5
The initial conditions for S5.6.6.4 are as follows: The reservoir system and supply line are pressurized to 100 psi, using the supply line portion of the trailer test rig (Figure 1). If the vehicle is designed to tow a vehicle equipped with air brakes, a 50 cubic inch test reservoir is connected to the rear supply line coupling.
 
S5.6.6.6
The test sequence for S5.6.6.4 is as follows. Any single leakage type failure, in any other brake system, of a part designed to contain compressed air or brake fluid (consistent with the parenthetical phrase specified in S5.6.3.1), is introduced in the brake system. The front supply line coupling is vented to the atmosphere. Thirty seconds after the initiation of such venting, the supply line is repressurized with the trailer test rig (Figure 1). Thirty seconds after the initiation of such repressurizing of the supply line, the front supply line is vented to the atmosphere. This procedure is conducted either by connection and disconnection of the supply line coupling or by use of a valve installed in the supply line portion of the trailer test rig near the supply line coupling.
 
S5.6.7
Maximum level of common diaphragm leakage-type failure/ Equivalent level of leakage from the air chamber containing that diaphragm. In the case of vehicles for which the option in S5.6(b) has been elected, determine the maximum level of common diaphragm leakage-type failure (or equivalent level of leakage from the air chamber containing that diaphragm) according to the procedures set forth in S5.6.7.1 through S5.6.7.2.3.
 
S5.6.7.1
Trucks and buses.
 
S5.6.7.1.1
According to the following procedure, determine the threshold level of common diaphragm leakage-type failure (or equivalent level of leakage from the air chamber containing that diaphragm) at which the vehicle's parking brakes become unreleasable. With an initial reservoir system pressure of 100 psi, the engine turned off, no application of any of the vehicle's brakes, and, if the vehicle is designed to tow a vehicle equipped with air brakes, a 50 cubic inch test reservoir connected to the supply line coupling, introduce a leakage-type failure of the common diaphragm (or equivalent leakage from the air chamber containing that diaphragm). Apply the parking brakes by making an application actuation of the parking brake control. Reduce the pressures in all of the vehicle's reservoirs to zero, turn on the engine and allow it to idle, and allow the pressures in the vehicle's reservoirs to rise until they stabilize or until the compressor shut-off point is reached. At that time, make a release actuation of the parking brake control, and determine whether all of the mechanical means referred to in S5.6.3.2 continue to be actuated and hold the parking brake applications with sufficient parking retardation force to meet the minimum performance specified in either S5.6.1 or S5.6.2. Repeat this procedure with progressively decreasing or increasing levels (whichever is applicable) of leakage-type diaphragm failures or equivalent leakages, to determine the minimum level of common diaphragm leakage-type failure (or equivalent level of leakage from the air chamber containing that diaphragm) at which all of the mechanical means referred to in S5.6.3.2 continue to be actuated and hold the parking brake applications with sufficient parking retardation forces to meet the minimum performance specified in either S5.6.1 or S5.6.2.
 
S5.6.7.1.2
At the level of common diaphragm leakage-type failure (or equivalent level of leakage from the air chamber containing that diaphragm) determined in S5.6.7.1.1, and using the following procedure, determine the threshold maximum reservoir rate (in psi per minute). With an initial reservoir system pressure of 100 psi, the engine turned off, no application of any of the vehicle's brakes and, if the vehicle is designed to tow a vehicle equipped with air brakes, a 50 cubic inch test reservoir connected to the supply line coupling, make an application actuation of the parking brake control. Determine the maximum reservoir leakage rate (in psi per minute), which is the maximum rate of decrease in air pressure of any of the vehicle's reservoirs that results after that parking brake application.
 
S5.6.7.1.3
Using the following procedure, introduce a leakage-type failure of the common diaphragm (or equivalent leakage from the air chamber containing that diaphragm) that results in a maximum reservoir leakage rate that is three times the threshold maximum reservoir leakage rate determined in S5.6.7.1.2. With an initial reservoir system pressure of 100 psi, the engine turned off, no application of any of the vehicle's brakes and, if the vehicle is designed to tow a vehicle equipped with air brakes, a 50 cubic inch test reservoir connected to the supply line coupling, make an application actuation of the parking brake control. Determine the maximum reservoir leakage rate (in psi per minute), which is the maximum rate of decrease in air pressure of any of the vehicle's reservoirs that results after that parking brake application. The level of common diaphragm leakage-type failure (or equivalent level of leakage from the air chamber containing that diaphragm) associated with this reservoir leakage rate is the level that is to be used under the option set forth in S5.6(b).
 
S5.6.7.2
Trailers.
 
S5.6.7.2.1
According to the following procedure, determine the threshold level of common diaphragm leakage-type failure (or equivalent level of leakage from the air chamber containing that diaphragm) at which the vehicle's parking brakes become unreleasable. With an initial reservoir system and supply line pressure of 100 psi, no application of any of the vehicle's brakes, and, if the vehicle is designed to tow a vehicle equipped with air brakes, a 50 cubic inch test reservoir connected to the supply line coupling, introduce a leakage-type failure of the common diaphragm (or equivalent leakage from the air chamber containing that diaphragm). Make a parking brake application by venting the front supply line coupling to the atmosphere, and reduce the pressures in all of the vehicle's reservoirs to zero. Pressurize the supply line by connecting the trailer's front supply line coupling to the supply line portion of the trailer test rig (Figure 1) with the regulator of the trailer test rig set at 100 psi, and determine whether all of the mechanical means referred to in S5.6.3.2 continue to be actuated and hold the parking brake applications with sufficient parking retardation forces to meet the minimum performance specified in either S5.6.1 or S5.6.2. Repeat this procedure with progressively decreasing or increasing levels (whichever is applicable) of leakage-type diaphragm failures or equivalent leakages, to determine the minimum level of common diaphragm leakage-type failure (or equivalent level of leakage from the air chamber containing that diaphragm) at which all of the mechanical means referred to in S5.6.3.2 continue to be actuated and hold the parking brake applications with sufficient parking retardation forces to meet the minimum performance specified in either S5.6.1 or S5.6.2.
 
S5.6.7.2.2
At the level of common diaphragm leakage-type failure (or equivalent level of leakage from the air chamber containing that diaphragm) determined in S5.6.7.2.1, and using the following procedure, determine the threshold maximum reservoir leakage rate (in psi per minute). With an initial reservoir system and supply line pressure of 100 psi, no application of any of the vehicle's brakes and, if the vehicle is designed to tow a vehicle equipped with air brakes, a 50 cubic inch test reservoir connected to the rear supply line coupling, make a parking brake application by venting the front supply line coupling to the atmosphere. Determine the maximum reservoir leakage rate (in psi per minute), which is the maximum rate of decrease in air pressure of any of the vehicle's reservoirs that results after that parking brake application.
 
S5.6.7.2.3
Using the following procedure, a leakage-type failure of the common diaphragm (or equivalent leakage from the air chamber containing that diaphragm) that results in a maximum reservoir leakage rate that is three times the threshold maximum reservoir leakage rate determined in S5.6.7.2.2. With an initial reservoir system and supply line pressure of 100 psi, no application of any of the vehicle's brakes and, if the vehicle is designed to tow a vehicle equipped with air brakes, a 50 cubic inch test reservoir connected to the rear supply line coupling, make a parking brake application by venting the front supply line coupling to the atmosphere. Determine the maximum reservoir leakage rate (in psi per minute), which is the maximum rate of decrease in air pressure of any of the vehicle's reservoirs that results after that parking brake application. The level of common diaphragm leakage-type failure (or equivalent level of leakage from the air chamber containing that diaphragm) associated with this reservoir leakage rate is the level that is to be used under the option set forth in S5.6(b).
 
S5.7
Emergency brake system for trucks and buses. Each vehicle shall be equipped with an emergency brake system which, under the conditions of S6.1, conforms to the requirements of S5.7.1 through S5.7.3. However, the truck portion of an auto transporter need not meet the road test requirements of S5.7.1 and S5.7.3.
 
S5.7.1
Emergency brake system performance. When stopped six times for each combination of weight and speed specified in S5.3.1.1, except for a loaded truck tractor with an unbraked control trailer, on a road surface having a PFC of 0.9, with a single failure in the service brake system of a part designed to contain compressed air or brake fluid (except failure of a common valve, manifold, brake fluid housing, or brake chamber housing), the vehicle shall stop at least once in not more than the distance specified in Column 5 of Table II, measured from the point at which movement of the service brake control begins, except that a truck-tractor tested at its unloaded vehicle weight plus up to 1500 pounds shall stop at least once in not more than the distance specified in Column 6 of Table II. The stop shall be made without any part of the vehicle leaving the roadway, and with unlimited wheel lockup permitted at any speed.
 
S5.7.2
Emergency brake system operation. The emergency brake system shall be applied and released, and be capable of modulation, by means of the service brake control.
 
S5.7.3
Towing vehicle emergency brake requirements. In addition to meeting the other requirements of S5.7, a vehicle designed to tow another vehicle equipped with air brakes shall —
 
(a)
In the case of a truck-tractor in the unloaded condition and a single unit truck which is capable of towing an airbrake equipped vehicle and is loaded to GVWR, be capable of meeting the requirements of S5.7.1 by operation of the service brake control only, with the trailer air supply line and air control line from the towing vehicle vented to the atmosphere in accordance with S6.1.14;
 
(b)
Be capable of modulating the air in the supply or control line to the trailer by means of the service brake control with a single failure in the towing vehicle service brake system as specified in S5.7.1.
 
(c)
[Reserved]
 
S5.8
Emergency brakes for trailers. Each trailer shall meet the requirements of S5.8.1 through S5.8.3.
 
S5.8.1
Emergency braking capability. Each trailer other than a trailer converter dolly shall have a parking brake system that conforms to S5.6 and that applies with the force specified in S5.6.1 or S5.6.2 when the air pressure in the supply line is at atmospheric pressure. A trailer converter dolly shall have, at the manufacturer's option —
 
(a)
A parking brake system that conforms to S5.6 and that applies with the force specified in S5.6.1 or S5.6.2 when the air pressure in the supply line is at atmospheric pressure, or
 
(b)
An emergency system that automatically applies the service brakes when the service reservoir is at any pressure above 20 lb/in² and the supply line is at atmospheric pressure. However, any agricultural commodity trailer, heavy hauler trailer, or pulpwood trailer shall meet the requirements of S5.8.1 or, at the option of the manufacturer, the requirements of §393.43 of this title.
 
S5.8.2
Supply line pressure retention. Any single leakage type failure in the service brake system (except for a failure of the supply line, a valve directly connected to the supply line or a component of a brake chamber housing) shall not result in the pressure in the supply line falling below 70 psi, measured at the forward trailer supply coupling. A trailer shall meet the above supply line pressure retention requirement with its brake system connected to the trailer test rig shown in Figure 1, with the reservoirs of the trailer and test rig initially pressurized to 100 psi and the regulator of the trailer test rig set at 100 psi; except that a trailer equipped with an air-applied, mechanically-held parking brake system and not designed to tow a vehicle equipped with air brakes, at the manufacturer's option, may meet the requirements of S5.8.4 rather than those of S5.8.2 and S5.8.3.
 
S5.8.3
Automatic application of parking brakes. With an initial reservoir system pressure of 100 psi and initial supply line pressure of 100 psi, and if designed to tow a vehicle equipped with air brakes, with a 50 cubic inch test reservoir connected to the rear supply line coupling, and with any subsequent single leakage type failure in any other brake system, of a part designed to contain compressed air or brake fluid (consistent with the parenthetical phrase specified in S5.6.3.1), whenever the air pressure in the supply line is 70 psi or higher, the parking brakes shall not provide any brake retardation as a result of complete or partial automatic application of the parking brakes.
 
S5.8.4
Automatic application of air-applied, mechanically held parking brakes. With its brake system connected to the supply line portion of the trailer test rig (Figure 1) and the regulator of the trailer test rig set at 100 psi, and with any single leakage type failure in the service brake system (except for a failure of the supply line, a valve directly connected to the supply line or a component of a brake chamber, but including failure of any common diaphragm), the parking brakes shall not provide any brake retardation as a result of complete or partial automatic application of the parking brakes.
 
S5.9
Final inspection. Inspect the service brake system for the condition of adjustment and for the brake indicator display in accordance with S5.1.8 and S5.2.2.
 
S6.
Conditions. The requirements of S5 shall be met by a vehicle when it is tested according to the conditions set in this S6, without replacing any brake system part or making any adjustments to the brake system except as specified. Unless otherwise specified, where a range of conditions is specified, the vehicle must be capable of meeting the requirements at all points within the range. On vehicles equipped with automatic brake adjusters, the automatic brake adjusters must remain activated at all times. Compliance of vehicles manufactured in two or more stages may, at the option of the final-stage manufacturer, be demonstrated to comply with this standard by adherence to the instructions of the incomplete vehicle manufacturer provided with the vehicle in accordance with §568.4(a)(7)(ii) and §568.5 of title 49 of the Code of Federal Regulations.
 
S6.1
Road test conditions.
 
S6.1.1
Except as otherwise specified, the vehicle is loaded to its GVWR, distributed proportionally to its GAWRs. During the burnish procedure specified in S6.1.8, truck tractors shall be loaded to their GVWR, by coupling them to an unbraked flatbed semitrailer, which semitrailer shall be loaded so that the weight of the tractor-trailer combination equals the GVWR of the truck tractor. The load on the unbraked flatbed semitrailer shall be located so that the truck tractor's wheels do not lock during burnish.
 
S6.1.2
The inflation pressure is as specified by the vehicle manufacturer for the GVWR.
 
S6.1.3
Unless otherwise specified, the transmission selector control is in neutral or the clutch is disengaged during all decelerations and during static parking brake tests.
 
S6.1.4
All vehicle openings (doors, windows, hood, trunk, cargo doors, etc.) are in a closed position except as required for instrumentation purposes.
 
S6.1.5
The ambient temperature is between 32 °F. and 100 °F.
 
S6.1.6
The wind velocity is zero.
 
S6.1.7
Unless otherwise specified, stopping tests are conducted on a 12-foot wide level, straight roadway having a peak friction coefficient of 0.9. For road tests in S5.3, the vehicle is aligned in the center of the roadway at the beginning of a stop. Peak friction coefficient is measured using an ASTM E1136 standard reference test tire (see ASTM E1136-93 (Reapproved 2003) (incorporated by reference, see §571.5)) in accordance with ASTM Method E1337-90 (Reapproved 2008) (incorporated by reference, see §571.5), at a speed of 40 mph, without water delivery for the surface with PFC of 0.9, and with water delivery for the surface with PFC of 0.5.
 
S6.1.8
For vehicles with parking brake systems not utilizing the service brake friction elements, burnish the friction elements of such systems prior to the parking brake test according to the manufacturer's recommendations. For vehicles with parking brake systems utilizing the service brake friction elements, burnish the brakes as follows: With the transmission in the highest gear appropriate for a speed of 40 mph, make 500 snubs between 40 mph and 20 mph at a deceleration rate of 10 f.p.s.p.s., or at the vehicle's maximum deceleration rate if less than 10 f.p.s.p.s. Except where an adjustment is specified, after each brake application accelerate to 40 mph and maintain that speed until making the next brake application at a point 1 mile from the initial point of the previous brake application. If the vehicle cannot attain a speed of 40 mph in 1 mile, continue to accelerate until the vehicle reaches 40 mph or until the vehicle has traveled 1.5 miles from the initial point of the previous brake application, whichever occurs first. Any automatic pressure limiting valve is in use to limit pressure as designed. The brakes may be adjusted up to three times during the burnish procedure, at intervals specified by the vehicle manufacturer, and may be adjusted at the conclusion of the burnishing, in accordance with the vehicle manufacturer's recommendation.
 
S6.1.9
Static parking brake tests for a semitrailer are conducted with the front-end supported by an unbraked dolly. The weight of the dolly is included as part of the trailer load.
 
S6.1.10
In a test other than a static parking test, a truck tractor is tested at its GVWR by coupling it to an unbraked flatbed semi-trailer (hereafter, control trailer) as specified in S6.1.10.2 to S6.1.10.4.
 
S6.1.10.1
[Reserved]
 
S6.1.10.2
The center of gravity height of the ballast on the loaded control trailer shall be less than 24 inches above the top of the tractor's fifth wheel.
 
S6.1.10.3
The control trailer has a single axle with a GAWR of 18,000 pounds and a length, measured from the transverse centerline of the axle to the centerline of the kingpin, of 258 ±6 inches.
 
S6.1.10.4
The control trailer is loaded so that its axle is loaded at 4,500 pounds and the tractor is loaded to its GVWR, loaded above the kingpin only, with the tractor's fifth wheel adjusted so that the load on each axle measured at the tire-ground interface is most nearly proportional to the axles' respective GAWRs, without exceeding the GAWR of the tractor's axle or axles or control trailer's axle.
 
S6.1.11
Special drive conditions. A vehicle equipped with an interlocking axle system or a front wheel drive system that is engaged and disengaged by the driver is tested with the system disengaged.
 
S6.1.12
Liftable axles. A vehicle with a liftable axle is tested at GVWR with the liftable axle down and at unloaded vehicle weight with the liftable axle up.
 
S6.1.13
Trailer test rig.

The trailer test rig shown in Figure 1 is calibrated in accordance with the calibration curves shown in Figure 3. For the requirements of S5.3.3.1 and S5.3.4.1, the pressure in the trailer test rig reservoir is initially set at 100 psi for actuation tests and 95 psi for release tests.

 
S6.1.14
In testing the emergency braking system of towing vehicles under S5.7.3(a), the hose(s) is vented to the atmosphere at any time not less than 1 second and not more than 1 minute before the emergency stop begins, while the vehicle is moving at the speed from which the stop is to be made and any manual control for the towing vehicle protection system is in the position to supply air and brake control signals to the vehicle being towed. No brake application is made from the time the line(s) is vented until the emergency stop begins and no manual operation of the parking brake system or towing vehicle protection system occurs from the time the line(s) is vented until the stop is completed.
 
S6.1.15
Initial brake temperature. Unless otherwise specified, the initial brake temperature is not less than 150°F and not more than 200 °F.
 
S6.1.16
Thermocouples.

The brake temperature is measured by plug-type thermocouples installed in the approximate center of the facing length and width of the most heavily loaded shoe or disc pad, one per brake, as shown in Figure 2. A second thermocouple may be installed at the beginning of the test sequence if the lining wear is expected to reach a point causing the first thermocouple to contact the rubbing surface of a drum or rotor. The second thermocouple shall be installed at a depth of .080 inch and located within 1 inch circumferentially of the thermocouple installed at .040 inch depth. For centergrooved shoes or pads, thermocouples are installed within one-eighth of an inch to one-quarter of an inch of the groove and as close to the center as possible.

 
S6.1.17
Selection of compliance options. Where manufacturer options are specified, the manufacturer shall select the option by the time it certifies the vehicle and may not thereafter select a different option for the vehicle. Each manufacturer shall, upon request from the National Highway Traffic Safety Administration, provide information regarding which of the compliance options it has selected for a particular vehicle or make/model.
 
S6.2
Dynamometer test conditions.
 
S6.2.1
The dynamometer inertia for each wheel is equivalent to the load on the wheel with the axle loaded to its GAWR. For a vehicle having additional GAWRs specified for operation at reduced speeds, the GAWR used is that specified for a speed of 50 mph, or, at the option of the manufacturer, any speed greater than 50 mph.
 
S6.2.2
The ambient temperature is between 75 °F. and 100 °F.
 
S6.2.3
Air at ambient temperature is directed uniformly and continuously over the brake drum or disc at a velocity of 2,200 feet per minute.
 
S6.2.4
The temperature of each brake is measured by a single plug-type thermocouple installed in the center of the lining surface of the most heavily loaded shoe or pad as shown in Figure 2. The thermocouple is outside any center groove.
 
S6.2.5
The rate of brake drum or disc rotation on a dynamometer corresponding to the rate of rotation on a vehicle at a given speed is calculated by assuming a tire radius equal to the static loaded radius specified by the tire manufacturer.
 
S6.2.6
Brakes are burnished before testing as follows: place the brake assembly on an inertia dynamometer and adjust the brake as recommended by the vehicle manufacturer. Make 200 stops from 40 mph at a deceleration of 10 f.p.s.p.s., with an initial brake temperature on each stop of not less than 315 °F and not more than 385 °F. Make 200 additional stops from 40 mph at a deceleration of 10 f.p.s.p.s. with an initial brake temperature on each stop of not less than 450 °F and not more than 550 °F. The brakes may be adjusted up to three times during the burnish procedure, at intervals specified by the vehicle manufacturer, and may be adjusted at the conclusion of the burnishing, in accordance with the vehicle manufacturer's recommendation.
 
S6.2.7
The brake temperature is increased to a specified level by conducting one or more stops from 40 m.p.h. at a deceleration of 10 f.p.s.p.s. The brake temperature is decreased to a specified level by rotating the drum or disc at a constant 30 m.p.h.

Table I — Stopping Sequence

Truck tractors Single unit trucks and buses
Burnish11
Stability and Control at GVWR (PFC 0.5)2N/A
Stability and Control at LLVW (PFC 0.5)35
Manual Adjustment of Brakes4N/A
60 mph Service Brake Stops at GVWR (PFC 0.9)52
60 mph Emergency Service Brake Stops at GVWR (PFC 0.9)N/A3
Parking Brake Test at GVWR64
Manual Adjustment of Brakes76
60 mph Service Brake Stops at LLVW (PFC 0.9)87
60 mph Emergency Service Brake Stops at LLVW (PFC 0.9)98
Parking Brake Test at LLVW109
Final Inspection1110

Table II — Stopping Distance in Feet

Vehicle speed in miles per hourService brakeEmergency brake
PFC 0.9PFC 0.9PFC 0.9PFC 0.9PFC 0.9PFC 0.9PFC 0.9PFC 0.9
(1)(2)(3)(4)(5)(6)(7)(8)
30707865788461170186
35961068910611484225250
40125138114138149108288325
45158175144175189136358409
50195216176216233166435504
55236261212261281199520608
60280310250310335235613720

Note:

(1) Loaded and Unloaded Buses.

(2) Loaded Single-Unit Trucks.

(3) Loaded Tractors with Two Axles; or with Three Axles and a GVWR of 70,000 lbs. or less; or with Four or More Axles and a GVWR of 85,000 lbs. or less. Tested with an Unbraked Control Trailer.

(4) Loaded Tractors with Three Axles and a GVWR greater than 70,000 lbs.; or with Four or More Axles and a GVWR greater than 85,000 lbs. Tested with an Unbraked Control Trailer.

(5) Unloaded Single-Unit Trucks.

(6) Unloaded Tractors (Bobtail).

(7) All Vehicles except Tractors, Loaded and Unloaded.

(8) Unloaded Tractors (Bobtail).

Table IIa — Stopping Distance in Feet: Optional Requirements for: (1) Three-Axle Tractors With a Front Axle That Has a GAWR of 14,600 Pounds or Less, and With Two Rear Drive Axles That Have a Combined GAWR of 45,000 Pounds or Less, Manufactured Before August 1, 2011; and (2) All Other Tractors Manufactured Before August 1, 2013

Vehicle speed in miles per hourService BrakeEmergency Brake
PFC 0.9PFC 0.9PFC 0.9PFC 0.9PFC 0.9PFC 0.9
(1)(2)(3)(4)(5)(6)
3070788489170186
3596106114121225250
40125138149158288325
45158175189200358409
50195216233247435504
55236261281299520608
60280310335355613720

Note:

(1) Loaded and unloaded buses;

(2) Loaded single unit trucks;

(3) Unloaded truck tractors and single unit trucks;

(4) Loaded truck tractors tested with an unbraked control trailer;

(5) All vehicles except truck tractors;

(6) Unloaded truck tractors.

Table III — Brake Retardation Force

Column 1 brake retardation force/GAWR Column 2 brake chamber pressure, PSI
0.0520
0.1230
0.1840
0.2550
0.3160
0.3770
0.4180

Table IV [Reserved]

Table V — Brake Chamber Rated Volumes

Brake Chamber type (nominal area of piston or diaphragm in square inches)Column 1 full stroke (inches)Column 2 rated volume (cubic inches)
Type 91.75/2.1025
Type 121.75/2.1030
Type 142.25/2.7040
Type 162.25/2.7046
Type 182.25/2.7050
Type 202.25/2.7054
Type 242.50/3.2067
Type 302.50/3.2089
Type 363.00/3.60135

[61 FR 27290, May 31, 1996, as amended at 61 FR 49695, Sept. 23, 1996; 61 FR 60636, Nov. 29, 1996; 63 FR 7727, Feb. 17, 1998; 66 FR 64158, Dec. 12, 2001; 67 FR 36820, May 28, 2002; 68 FR 47497, Aug. 11, 2003; 74 FR 9176, Mar. 3, 2009; 74 FR 42785, Aug. 25, 2009; 75 FR 15620, Mar. 30, 2010; 76 FR 44833, July 27, 2011; 77 FR 759, Jan. 6, 2012; 78 FR 9628, Feb. 11, 2013; 78 FR 21853, Apr. 12, 2013]

   Reason: